EasyManua.ls Logo

ERA PRO CYCLONE - Page 20

ERA PRO CYCLONE
32 pages
Print Icon
To Next Page IconTo Next Page
To Next Page IconTo Next Page
To Previous Page IconTo Previous Page
To Previous Page IconTo Previous Page
Loading...
20
KZ
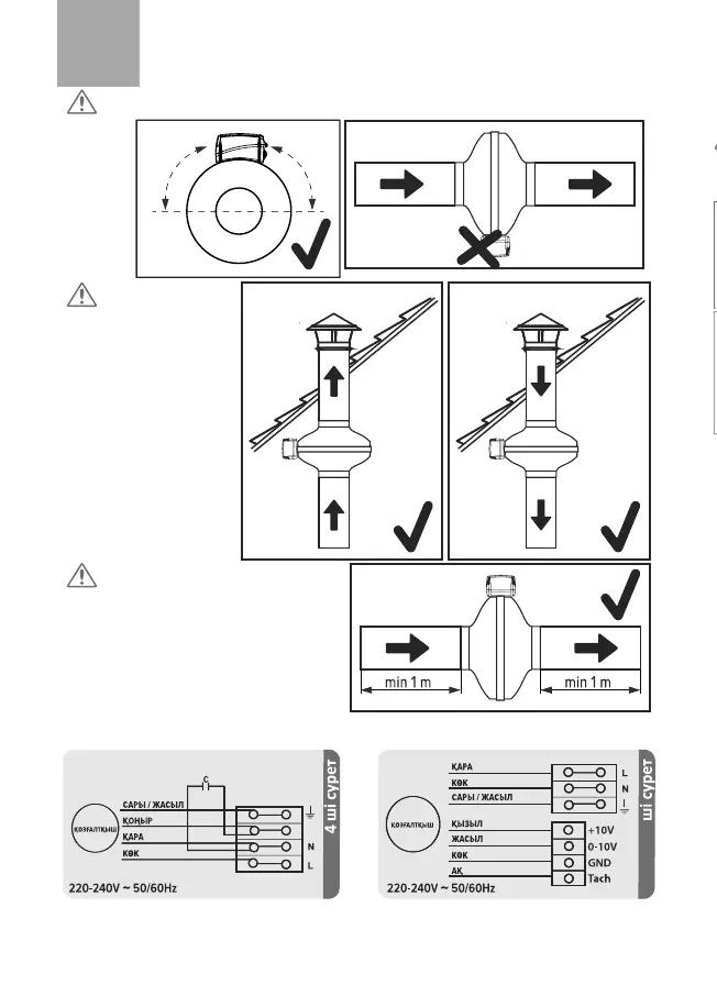
САҚТАНДЫРУ!
MARS / TORNADO серияларының желдеткіштерін ± 90 градус жоғары ұстатқыш қорапшасымен орнату керек.
САҚТАНДЫРУ!
MARS / TORNADO серия-
ларының желдеткіштерін
тік орнату кезінде сору
(айдау) келтеқұбыры
жағынан күнқағарды ор-
нату қажет.
САҚТАНДЫРУ!
MARS / TORNADO серияларының желдеткіштерін
көлденең орнату кезінде сору келтеқұбыры
жағынан барынша рұқсат етілген ылғалдылық
жағдайында ұзындығы кемінде 1 метр ауа өткіз-
гішті орнату қажет.
Электрмонтаждық кестесі
CYCLONE EBM / TORNADO EBM / MARS GDF
Электрмонтаждық кестесі
TORNADO EC
5
Желдеткішті ауа өткізгіштер мен ауа таратушылардан
ажыратып алып және орнатылған жерінен шығарып алып,
желдеткіш демонтажын өткізіңіз;
Жұмыс дөңгелегінің қалақтарынан шаңды жұмсақ құрғақ
қылшағын немесе матаны қолдана отырып кетіріп алыңыз;
Жұмыс дөңгелегінің қалақтарын жуу ерітіндісін қолдана
отырып тазалаңыз;
Пластмассадан жасалған барлық бөлшектерін сабын
Желдеткішті электр жүйесіне қосу
Ақаулық Ықтимал себебі
Жою тәсілі
Желіге қосылған кезде желдеткіш
айналмайды, басқару органдарына
әсер етпейді.
Қоректендіргіш желі қосылмаған.
Маманға жүгіну қажет.
Ішкі қосылудағы ақаулық.
Төмен ауа шығыны.
Желдету жүйесі ластанған. Желдету жүйесін тазалаңыз.
Жоғары шу немесе діріл.
Қанатша ластанған.
Қанатшаны тазалаңыз
Желдеткіш бекітілмеген немесе дұрыс
орнатылмаған.
Монтаждау қатесін жой-
ыңыз.
Желдету жүйесі ластанған. Желдету жүйесін тазалаңыз.

Related product manuals