EasyManua.ls Logo

ESCALADE Atomic - LED Leg Light Replacement; Troubleshooting LED Leg Lights; Disassembly for Leg Light Replacement; Reassembly of LED Leg Lights

ESCALADE Atomic
12 pages
Print Icon
To Next Page IconTo Next Page
To Next Page IconTo Next Page
To Previous Page IconTo Previous Page
To Previous Page IconTo Previous Page
Loading...
9
STEP TWO :
Unplug the connecting wires of Electronic Scorer (P6)
from the Junction Box (C3) .
Unscrew the Screw (H4) and remove the Electronic
Scorer (P6) from the Top Rail.
STEP ONE :
Should the LED lights not be working in a Leg (s) - Firstly , make sure the wall outlet cord is plugged in to a live A/C
outlet properly. Secondly , make sure the ON/Off Switch
(C1)
is in the "ON" position . Thirdly , make sure the A/C
Adapter
(C2)
is tightly plugged in to its outlet under the table . Lastly, make sure all
(P2)
&
(P3)
connections are
snuggly plugged into the Junction Box
(C3)
. At this point , should the LED leg(s) lights still not be working ,
please disconnect the A/C power to the table before proceeding .
A call will be required to our Customer Service Department
to acquire the necessary replacement part(s) .
STEP THREE :
Need six strong ADULTS to turn the table over and place the
table onto soft carpet or a non- abrasive surface.
Gently disconnect the wire and remove the leg from the table
cabinet using a M5 / 5mm Allen Wrench.
Unscrew and remove the Leg Leveler (P5).
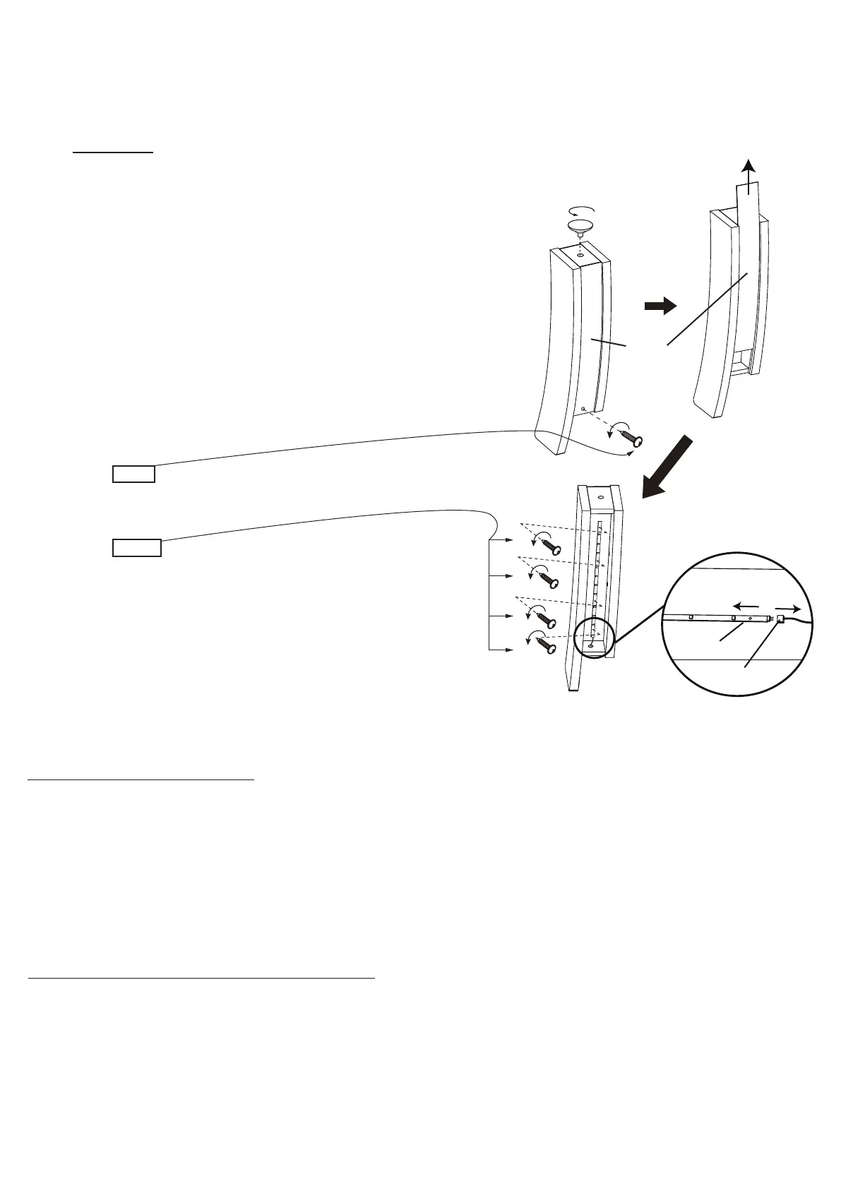
STEP FOUR :
Unscrew the screw of the Blue Light Cover Lens (C12) and
slide out the Lens (C12) from the Leg slot.
STEP FIVE :
Unscrew the screws of the LED Leg Light (C13) and gently
pull apart the LED Leg Light from the connection plug.
STEP SIX :
Install the replacement LED leg light and carefully
reattach the Blue Light Cover Lens (C12).
STEP SEVEN :
Reinstall the leg leveler (P5). Turn the table back over and
reattach the electronic scorer onto the top rail as per Page 7 Step 3.
Replacement of LED Leg Lights
C13
C12
HOCKEY GAME RULES:
1. This game is designed to be played with two (2) players, one at each end, or with four (4) players,
two at each end of the game table.
2. Flip a coin to determine who will begin play, or a face-off can be held at the center of the table.
3. Play begins when the puck is placed on the playing surface. Players must hit the puck with the
strikers and attempt to shoot into the opponent’s goal.
4. One point is awarded when a puck is shot into the opponent’s goal.
5. Winning the game: the winning score is accomplished by being the first player to reach a
predetermined score or by being the player to score the most points within a given period of time.
ELECTRONIC SCORER OPERATION:
POWER ON/OFF = Press POWER ON/OFF button to start or turn off the scoring unit.
START/PAUSE = Press START/PAUSE button to START the game. Press START/PAUSE button
during game will PAUSE or RESUME the game.
= Press SELECT/RESET button to select time options 5, 10, 15 minutes or No Time
Limit. Long press SELECT/RESET button to reset back to the game option.
LIGHT ON/OFF
SELECT/RESET
= Press LIGHT ON/OFF button to turn on or turn off the Top Rail Light and Leg Light.
SOUND ON/OFF = Press Sound ON/OFF button to turn on or turn off the Sound.
Plug

Related product manuals