EasyManua.ls Logo

ETNA AV360RVS - Use

ETNA AV360RVS
Print Icon
To Next Page IconTo Next Page
To Next Page IconTo Next Page
To Previous Page IconTo Previous Page
To Previous Page IconTo Previous Page
Loading...
EN 5
USE
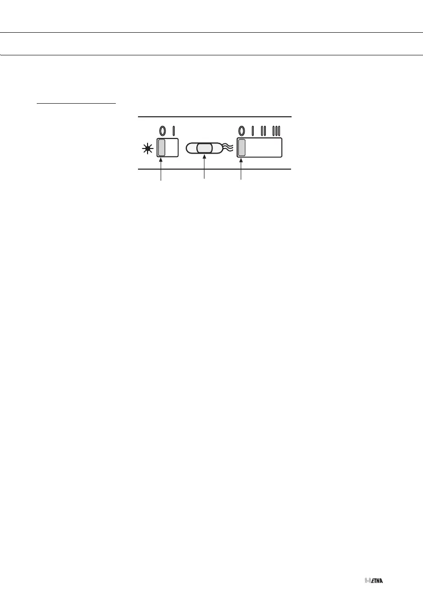
Controls
Switching fan on and off
Adjust the desired motor speed to 1, 2 or 3 with slide control B.
The extractor hood switches on in the corresponding position.
Set the slide control B to 0.
The fan will switch off.
Switching lighting on and off
Set the slide control A to 1.
The lighting switches on.
Set the slide control A to 0.
The lighting switches off.
A
B
C

Related product manuals