EasyManua.ls Logo

EVS Synapse SFR18 - Bph48 T

EVS Synapse SFR18
98 pages
Print Icon
To Next Page IconTo Next Page
To Next Page IconTo Next Page
To Previous Page IconTo Previous Page
To Previous Page IconTo Previous Page
Loading...
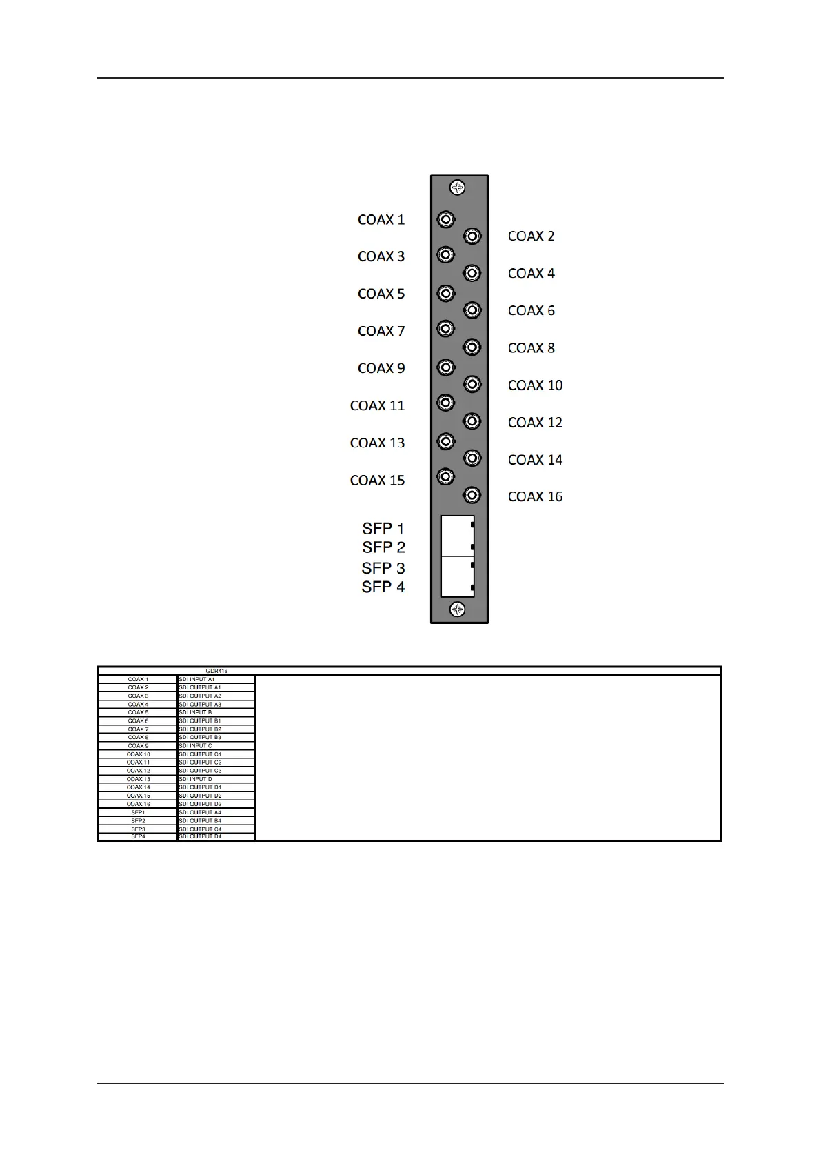
3.36. BPH48T
52 3. HD I-O Panel Overview
EVS Broadcast Equipment SA Issue 1.00.C- April 2021