EasyManua.ls Logo

Exerpeutic Inversion Table - Page 15

Exerpeutic Inversion Table
24 pages
Print Icon
To Next Page IconTo Next Page
To Next Page IconTo Next Page
To Previous Page IconTo Previous Page
To Previous Page IconTo Previous Page
Loading...
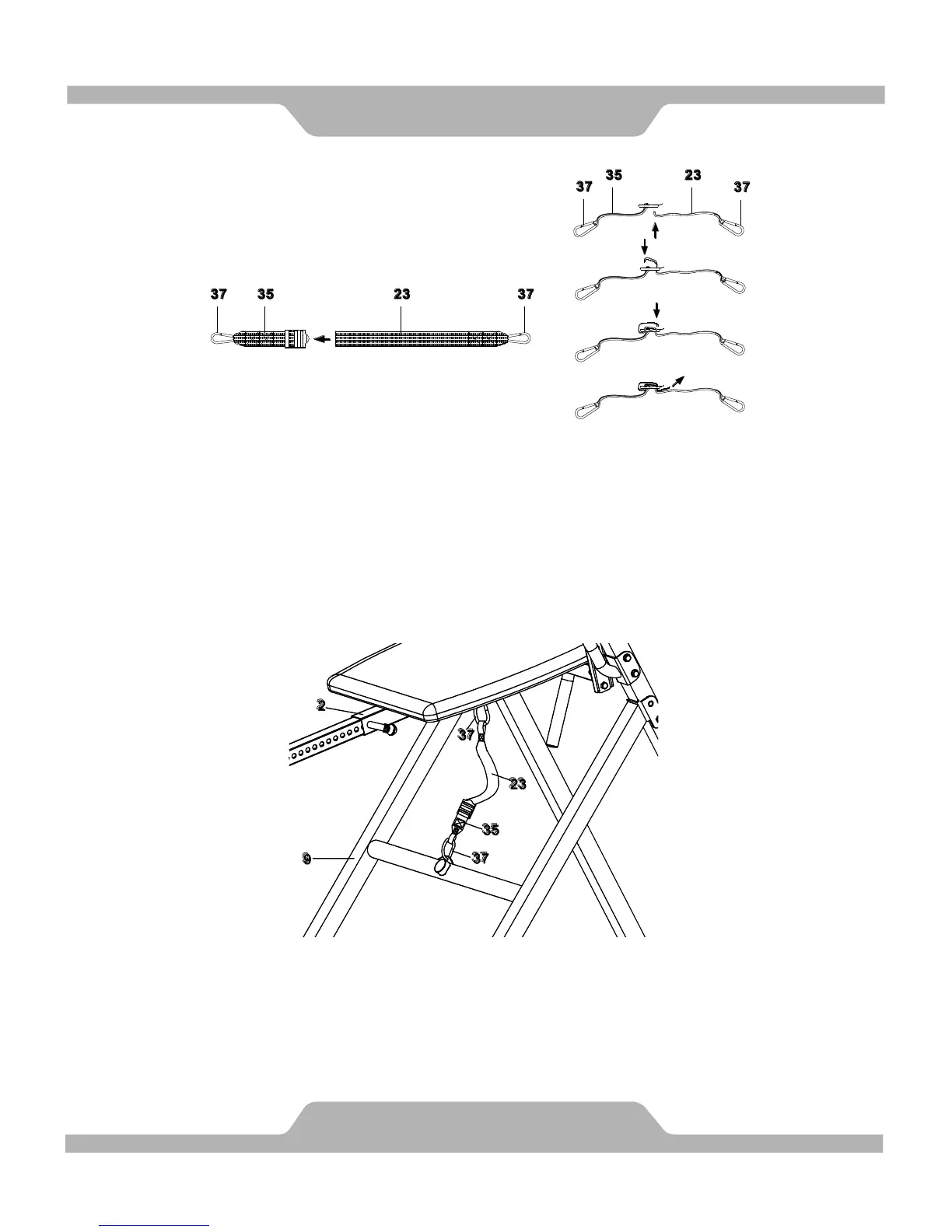
Step 9:
Attach the Nylon Strap (23) to the strap lock on the Loop Strap (35) by inserting
the end of the strap up through the bottom of the strap lock, loop the Nylon Strap
(23) over the Pre-assembled Loop Strap (35) and down through the strap lock
on the Loop Strap (35). Now, loop the strap back over itself, and insert back
through the strap lock on the Loop Strap (35), and pull tight to secure. See
diagram.
Step 10:
Attach the Nylon and Loop Straps (23, 35) to the inversion table by hooking the
end of the Nylon Strap (23) to the pre-assembled loop on the back of the
Backrest Frame (2) as shown. Now hook the other end of Loop Strap (35) to
the other pre-assembled loop on the Front Frame (9) as shown.
ASSEMBLY
14