EasyManua.ls Logo

Fagor 3FCA-68NFX - Regulación de la Temperatura; Panel de Control (no Frost)

Fagor 3FCA-68NFX
56 pages
Print Icon
To Next Page IconTo Next Page
To Next Page IconTo Next Page
To Previous Page IconTo Previous Page
To Previous Page IconTo Previous Page
Loading...
6
En condiciones normales, se recomienda seleccionar una temperatura aprox-
imada de 38ºF (4ºC) en el refrigerador y alrededor de –8ºF (-19ºC) en el con-
gelador.
Para la regulación de la temperatura, utilice los mandos o teclas de selección
de temperatura, los valores numéricos están dados en ºF.
3.1 REGULACIÓN DE LA TEMPERATURA:
ADVERTENCIA: La temperatura del interior del refrigerador depende de:
La temperatura ambiente.
La ubicación del aparato.
La frecuencia de apertura de las puertas.
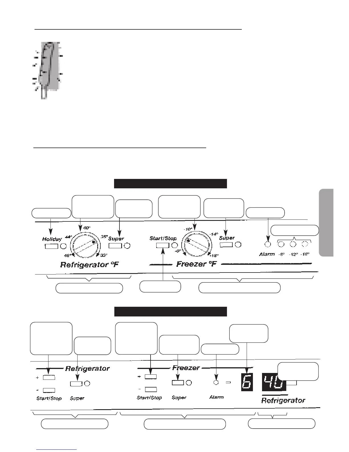
3.2 PANEL DE CONTROL (No-Frost)
Selección
Temperatura
Congelador
Selección
Temperatura
Refrigerador
SUPER
FREEZING
ON / OFF
Vacaciones
SUPER
COOLING
ALARMA
REFRIGERADOR
CONGELADOR
Cold Level
Panel de control Led
Selección
Temperatura
Congelador
o ON / OFF
Selección
Temperatura
Refrigerador
o Vacaciones
SUPER
FREEZING
SUPER
COOLING
ALARMA
Display
Congelador
Display
Refrigerador
REFRIGERADOR CONGELADOR
REFRIGERADOR
Panel de control digital
Su refrigerador puede disponer de un panel de control Led o de un panel de
control digital.
ESPAÑOL

Table of Contents

Other manuals for Fagor 3FCA-68NFX

Related product manuals