EasyManua.ls Logo

Fagor FFA1504 - Page 34

Fagor FFA1504
56 pages
Go to English
To Next Page IconTo Next Page
To Next Page IconTo Next Page
To Previous Page IconTo Previous Page
To Previous Page IconTo Previous Page
Loading...
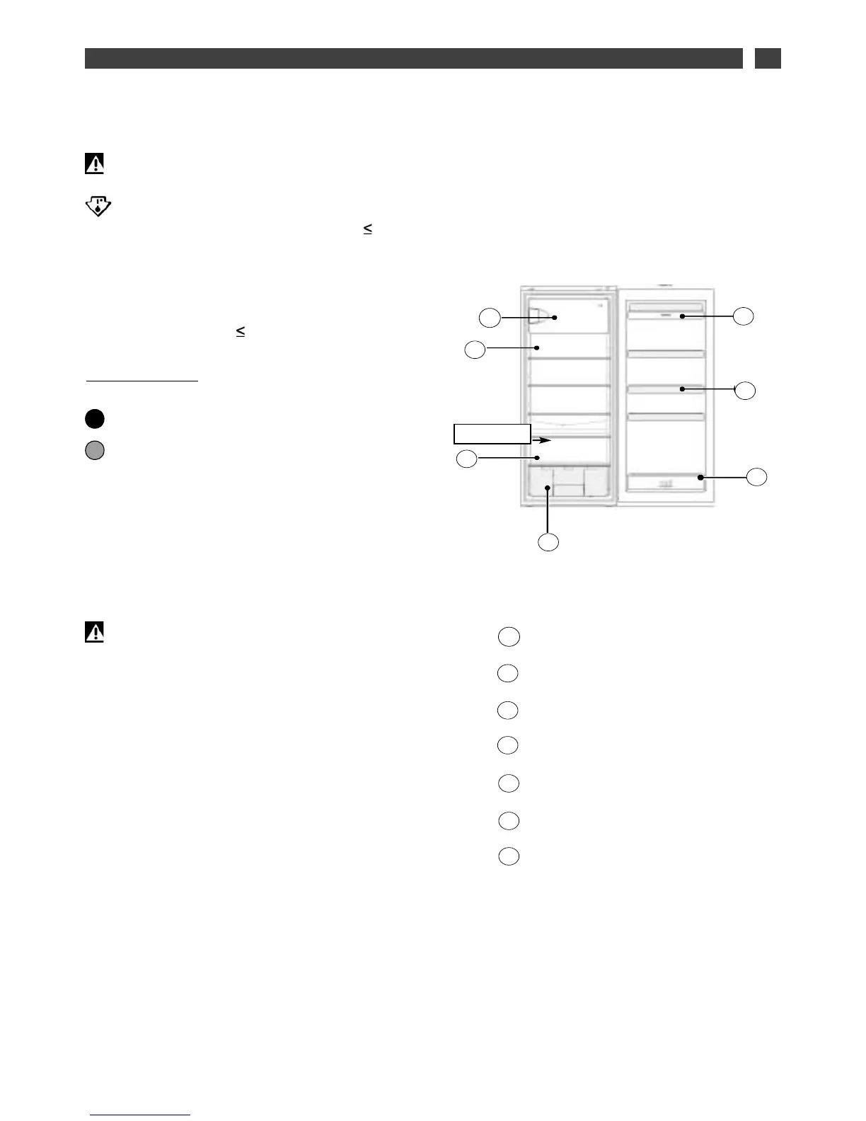
FFOOOODD SSAAFFEETTYY
((ddeeppeennddiinngg oonn tthhee mmooddeell))
Explanation of the coldest area by means of signs.
The symbol opposite indicates the location of the coldest area
in your refrigerator, whose temperature is + 4°C.
You will store here meat, poultry, fish, cooked meats, prepared dis-
hes, ready-made salads, egg or cream-based dishes and pastries,
fresh pasta, pastry, pizza/quiches, fresh produce and raw milk
cheese, ready-to-use vegetables sold in plastic bags and, in gene-
ral, any fresh produce whose consume-by date is associated with
storage at a temperature of + 4° C.
T
emperature indicator:
Adjust your thermostat
Correct temperature
The temperature indicator enables you to check that your refrigera-
tor is working correctly.
The indicator displays “OK” when the coldest area reaches an ave-
rage temperature of ± 4°C (4 hours after being switched on). If the
temperature is above + 4°C, the indicator remains black. The user
must then lower the temperature of the refrigerator by adjusting the
thermostat.
Freezing fresh foodstuffs or storing frozen foods
Dairy products, cheese
Meat, cooked meats, fish
Fruit and vegetables
Drinks, butter and eggs
Condiments
Drinks
EN
22 //
USING YOUR APPLIANCE
OK
B
A
E
F
0066
WWaarrnniinngg::
OOppeenniinngg tthhee rreeffrriiggeerraattoorrss ddoooorr ffoorr aa pprroolloonnggeedd ppeerriioodd ccaauusseess tthhee
rreeffrriiggeerraattoorrss iinntteerrnnaall tteemmppeerraattuurree ttoo rriissee.. TToo mmeeaassuurree tthhee tteemmppeerraa--
ttuurree ccoorrrreeccttllyy,, tthhee tteemmppeerraattuurree iinnddiiccaattoorr mmuusstt bbee rreeaadd wwiitthhiinn
3300 sseeccoonnddss.. SSiimmiillaarrllyy,, iitt sshhoouulldd aallssoo bbee ttaakkeenn iinnttoo aaccccoouunntt tthhaatt
tthhee tteemmppeerraattuurree iiss nnoorr ccoommpplleetteellyy uunniiffoorrmm tthhrroouugghhoouutt tthhee ccoommppaarrtt--
mmeenntt,, ffoorr wwhhiicchh rreeaassoonn tthheerree aarree aapppprroopprriiaattee aarreeaass ffoorr eeaacchh ttyyppee ooff
ffooooddssttuuffff..
CC
GG
D
Coldest area
AA
CC
DD
BB
FF
EE
GG
AA
BB
CC
DD
FF
EE
GG

Related product manuals