EasyManua.ls Logo

Fagor SR-11 - Page 243

Fagor SR-11
Print Icon
To Next Page IconTo Next Page
To Next Page IconTo Next Page
To Previous Page IconTo Previous Page
To Previous Page IconTo Previous Page
Loading...
242
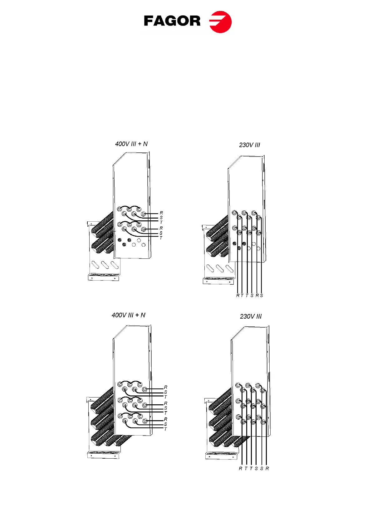
Le seguenti figure descrivono graficamente i cambiamenti per eseguire il collegamento elettrico
della macchina quando si cambia la tensione di alimentazione.
Solo tra 400V III +N e 230V III.
MODELLI SR/SC-11 e SR/SC-16
Insieme delle resistenze (Solo per il riscaldamento elettrico).
Le figure rappresentano un'immagine schematica dei collegamenti, non una visione reale degli stessi.
SR/SC-11
SR/SC-16

Related product manuals