EasyManua.ls Logo

Fagor SR-11 - Page 244

Fagor SR-11
Print Icon
To Next Page IconTo Next Page
To Next Page IconTo Next Page
To Previous Page IconTo Previous Page
To Previous Page IconTo Previous Page
Loading...
243
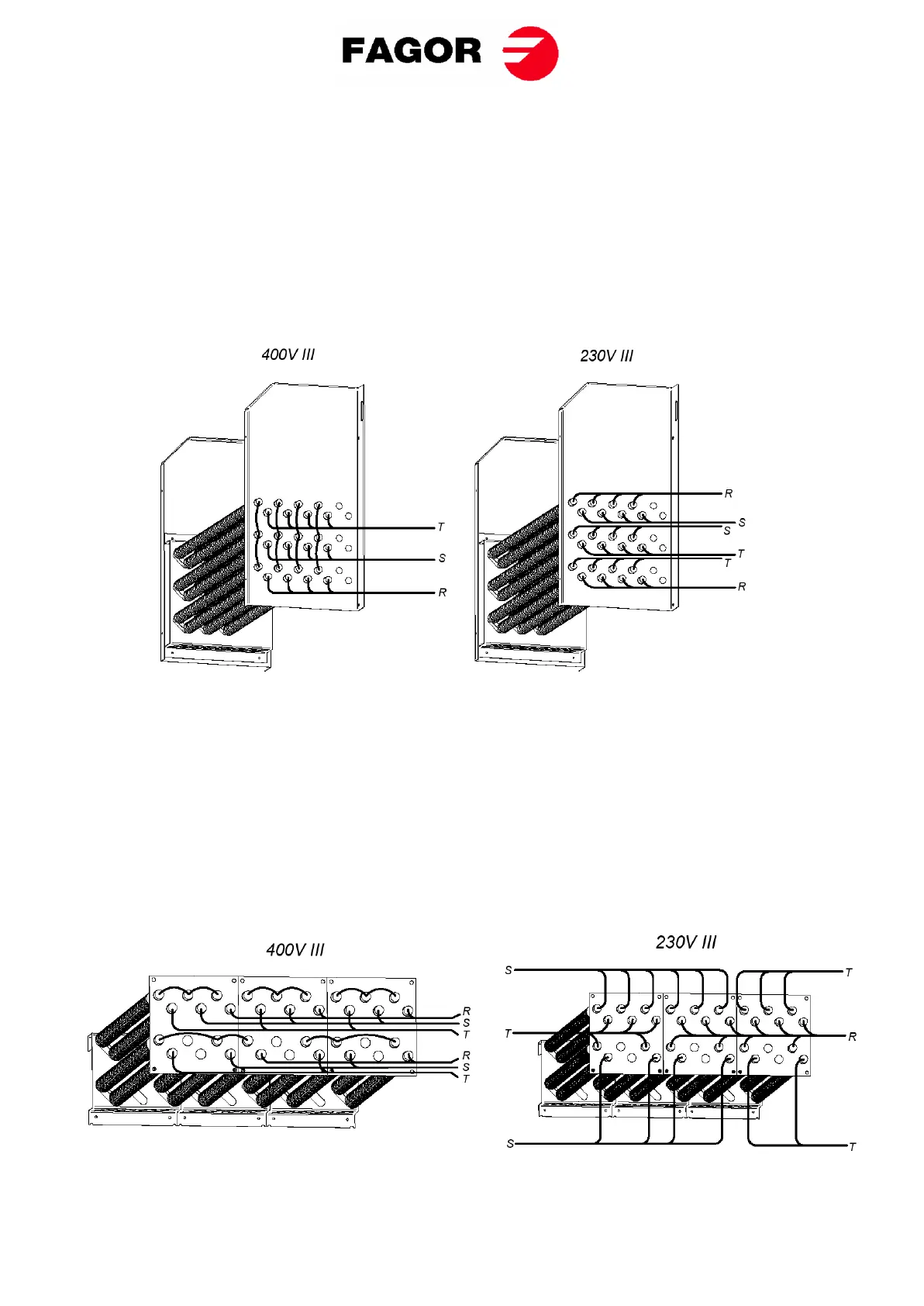
MODELLO SR/SC-23
ATTENZIONE
Per il modello SR/SC-23 Riscaldamento elettrico NON SI PUÒ realizzare il passaggio da 400V
a 230V senza cambiare il contattore, l'interruttore generale e la sezione dei cavi.
A questo scopo, consultare il Servizio di Assistenza Tecnica.
Gruppo di resistenze (Solo per il riscaldamento elettrico)
Solo per passare da 230V a 400V.
Le figure rappresentano un'immagine schematica dei collegamenti, non una visione reale degli
stessi.
MODELLO SR/SC-28/35
ATTENZIONE
Per il modello SR/SC-28/35 Riscaldamento elettrico NON SI PUÒ realizzare il passaggio da
400V a 230V senza cambiare il contattore, l'interruttore generale e la sezione dei cavi.
A questo scopo, consultare il Servizio di Assistenza Tecnica.
Gruppo di resistenze (Solo per il riscaldamento elettrico).
La batteria elettrica della SR/SC-28 è composta di 3 moduli di resistenze:

Related product manuals