EasyManua.ls Logo

Fagor SR-11 - Page 84

Fagor SR-11
Print Icon
To Next Page IconTo Next Page
To Next Page IconTo Next Page
To Previous Page IconTo Previous Page
To Previous Page IconTo Previous Page
Loading...
83
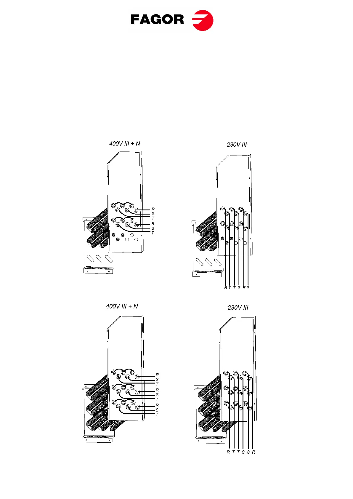
The following figures show the changes to be made in the electrical connection of the machine when
changing the supply voltage.
Only between 400V III +N and 230V III.
MODELS SR/SC-11 and SR/SC-16
Resistor set (Only for electric heating):
The figures are intended to provide a diagram of the connections and are not a true representation of
the same.
SR/SC-11
SR/SC-16

Related product manuals