EasyManua.ls Logo

Fagor SR-11 - Page 85

Fagor SR-11
Print Icon
To Next Page IconTo Next Page
To Next Page IconTo Next Page
To Previous Page IconTo Previous Page
To Previous Page IconTo Previous Page
Loading...
84
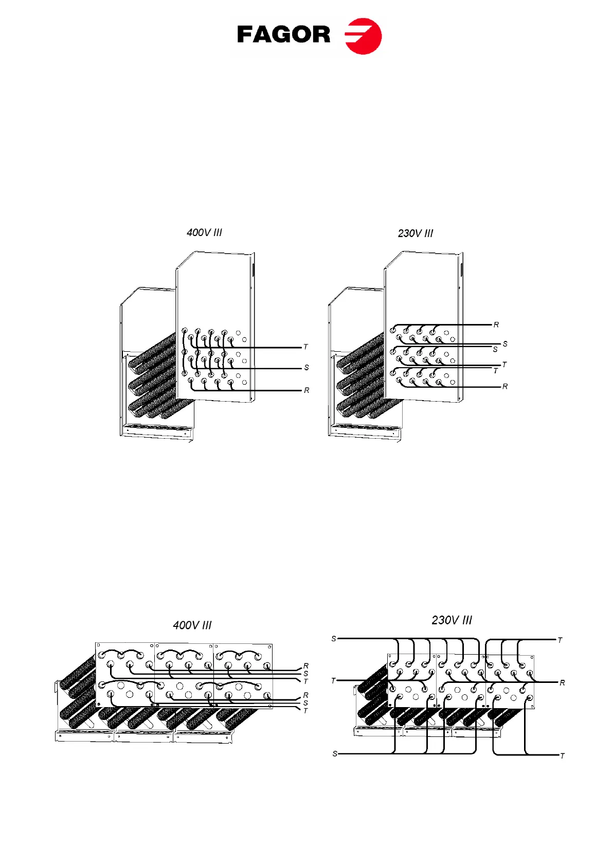
MODEL SR/SC-23
WARNING
For the SR/SC-23 Electric heating model, IT IS NOT POSSIBLE to change from 400 V to 230 V
without changing the contactor, the mains switch and the cable cross-section.
To do so, please refer to the Technical Assistance Service.
Resistor set (only for electric heating).
Only for changing from 230 V to 400 V).
The figures are intended to provide a diagram of the connections and are not a true representation of
the same.
MODEL SR/SC-28/35
CAUTION
For the SR/SC-28/35 Electric heating model, IT IS NOT POSSIBLE to change from 400 V to
230 V without changing the contactor, the mains switch and the cable cross-section.
To do so, please refer to the Technical Assistance Service.
Resistor set (only for electric heating):
The electrical battery of the SR/SC-28 has 3 resistor modules:

Related product manuals