EasyManua.ls Logo

Fancom VLR.20 - Page 13

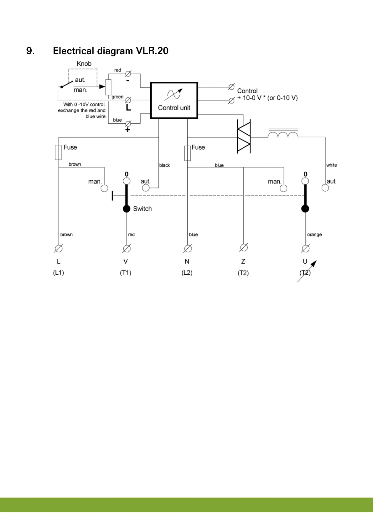
Fancom VLR.20
57 pages
Print Icon
To Next Page IconTo Next Page
To Next Page IconTo Next Page
To Previous Page IconTo Previous Page
To Previous Page IconTo Previous Page
Loading...
Gndf
10
g

Related product manuals