EasyManua.ls Logo

Fantech ATMO Series - Installation Simplifiée

Fantech ATMO Series
40 pages
Print Icon
To Next Page IconTo Next Page
To Next Page IconTo Next Page
To Previous Page IconTo Previous Page
To Previous Page IconTo Previous Page
Loading...
25
EXEMPLES D'INSTALLATION (SUITE)
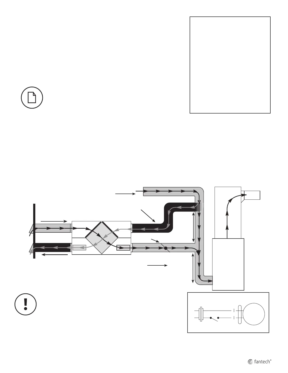
RACCORDEMENT DIRECT du FLUX D’AIR D’APPROVISIONNEMENT et du FLUX D’AIR ÉVACUÉ DU AAF
à la BOUCHE D’AIR DE LA FOURNAISE
INSTALLATION SIMPLIFIÉE
(BONNE)
(MÉTHODE RETOUR / RETOUR)
1. Pour assurer une bonne distribution de l’air, le ventilateur de la fournaise doit
fonctionner continuellement, ou bien le fonctionnement du AAF doit être
synchronisé avec le ventilateur de la fournaise. Voir connexion électrique de
la fournaise à la page 34.
2. Une séparation minimum de 1m (36 po) est recommandée entre les
deux connexions directes.
3. Afin d’éviter l’évacuation d’air frais, la connexion d’évacuation du AAF devrait être située en amont de la connexion
d’approvisionnement du AAF lorsqu’on les branche à la bouche de reprise d’air de la fournaise.
4. En raison de l’écart de pression entre le AAF et l’équipement auquel il est raccordé, le débit d’air du AAF doit être équilibré sur place
au moyen de la procédure détaillée dans la section " Équilibrage du débit d’air".
* Dans le cas d'un système multi-zone, s'il vous plaît contacter le service à la clientèle de Fantech avant d'installer tout type
d'installation nécessitant l'utilisation synchronisé de la fournaise "
Air vicié provenant de l'intérieur
Extérieur
1 m (3 pi
3po) min.
recommandé
Retour
d'air frais
* Les raccords de conduit
peuvent être différents
selon le modèle.
Conduit d’air frais/Fournaise pour Installation simplifiée - Option 1
Fournaise à
air pulsé
Air frais distribué à
l'intérieur
Air vicié évacué
à l'extérieur
Air frais provenant
de l'extérieur
*L’appareil est équilibré à vitesse normale et pendant que le
ventilateur de la fournaise est en marche.
Les papareil à air frais (AAF) de Fantech qui utilisent un arrêt du ventilateur d'alimentation
pour la prévention de gel ne comprennent pas un volet motorisé pour l'air extérieur. Si
vous utilisez une installation simpliée, c'est à dire relier de conduit d'alimentation d'air
du AAF à l'aire du conduit de retour d'une fournaise, le AAF doit fonctionner en continu.
Lorsque le AAF est éteint, pas d'air d'évacuation chaud circule à travers le AAF mais le ven-
tilateur da fournaise continuera à aspirer l'air extérieur directement dans la fournaise. S'il
fait froid dehors, l'air froid sera introduit, sans réchauffage, directement dans la fournaise.
Si le AAF est installé de telle sorte que le propriétaire peut désactiver le AAF au cours de
l'hiver, nous vous recommandons d'installer un volet motorisé entre l'apport d'air du AAF
et le retour d'air du conduit de la fournaise qui se ferme lorsque le AAF ne fonctionne pas.
Voir le schéma de câblage (gure 1). Vous pouvez aussi choisir d'utiliser une AAF Fantech
qui utilise un dégivrage de recirculation qui intègre un volet d'air extérieur.
Damper
Motor
24 VAC Transformer
COM
NO
AAF Furnace interlock
Voir page 34.
24V
120V
Figure 1
* Le transformeur et le moteur du volet ne sont pas inclus.
Installation suggérée pour:
Lorsque la salle de bain
et la cuisine ont déjà un
système d’échappement
Peut convenir pour la
modernisation
Avantages: Type d’installation
le moins dispendieux à mettre
en place
Volet
motorisé
1 m (3 pi
3po) min.
recommandé
Retour d'air