EasyManua.ls Logo

Fantech DBLT 4W - Installation and Usage Guidelines; Installation and Operation Instructions; Safety Precautions and Notes; Warranty Information

Fantech DBLT 4W
4 pages
Print Icon
To Next Page IconTo Next Page
To Next Page IconTo Next Page
To Previous Page IconTo Previous Page
To Previous Page IconTo Previous Page
Loading...
2
fantech
DURING ENTIRE WARRANTY PERIOD:
Fantech will repair or replace any part which has a factory defect in workmanship or material.
Product may need to be returned to the Fantech factory, together with a copy of the bill of sale
and identified with RMA number.
FOR FACTORY RETURN YOU MUST:
Have a Return Materials Authorization (RMA) number. This may be obtained by calling
Fantech either in the USA at 1.800.747.1762 or in CANADA at 1.800.565.3548. Please
have bill of sale available.
The RMA number must be clearly written on the outside of the carton, or the carton will be
refused.
All parts and/or product will be repaired/replaced and shipped back to buyer; no credit will
be issued.
READ AND SAVE THESE INSTRUCTIONS
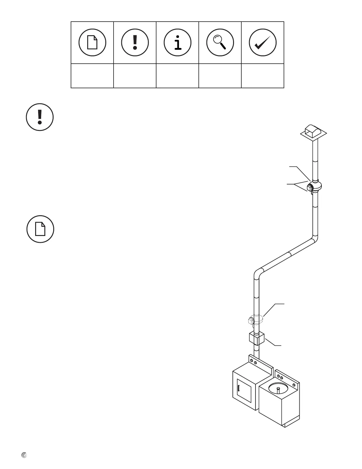
1. The DBLT4W is a Secondary Dryer Lint Trap used when installing Fantech Dryer Booster Fan
less than the recommended distance of 15 feet from the back of the dryer.
2. Please, observe the following:
a. The Lint Trap must be installed so it is easily accessible to the ryer user.
b. It is recommended the dryer user inspect for lint accumulation prior to operation of
the dryer.
3. REMOVE LINT AS REQUIRED TO KEEP THE SCREEN CLEAN.
Normally the DBLT4W is installed in the dryer duct just above the dryer (see the reference on
the left).
Note Warning /
Important
note
Information Technical
information
Practical tip
DBF Dryer Exhaust Fan
FC Mounting
Clamps (optional)
Alternate Location
Secondary Lint Trap
Five (5) Year Warranty
This warranty supersedes all prior warranties
WARRANTY

Related product manuals