EasyManua.ls Logo

FAR LVC6C51M21W - Dishwasher Components

FAR LVC6C51M21W
Print Icon
To Next Page IconTo Next Page
To Next Page IconTo Next Page
To Previous Page IconTo Previous Page
To Previous Page IconTo Previous Page
Loading...
ENGLISH
GB-17
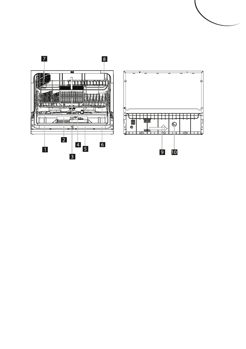
Dishwasher Features
Front view Back View
1. Salt Container
2. Detergent Dispenser
3. Cutlery Basket
4. Filter assembly
5. Rinse Aid Dispenser
6. Spray Arms
7. Cup Shelf
8. Basket
9. Inlet pipe connector
10. Drain pipe connector

Related product manuals