EasyManua.ls Logo

Fein AFSC18 - Page 56

Fein AFSC18
Print Icon
To Next Page IconTo Next Page
To Next Page IconTo Next Page
To Previous Page IconTo Previous Page
To Previous Page IconTo Previous Page
Loading...
56
fi
Työturvallisuus.
Lue kaikki turvallisuus- ja muut
ohjeet. Turvallisuusohjeiden noudat-
tamisen laiminlyönti saattaa johtaa sähköiskuun, tulipa-
loon ja/tai vakavaan loukkaantumiseen.
Säilytä kaikki turvallisuus- ja muut ohjeet tulevaisuutta
varten.
Sähkötyökalun saa ottaa käyttöön vasta sitten, kun
ensin on perehdytty käyttöohjeeseen sekä oheisiin
yleisiin turvaohjeisiin (julkaisunumero
3 41 30 054 06 1) niin, että niissä annetut ohjeet tulevat
ymmärretyiksi. Säilytä kyseiset dokumentit vastaisuuden
varalta ja anna ne mukaan, mikäli laite luovutetaan toisen
käyttöön tai myydään eteenpäin.
Niiden ohella on noudatettava voimassa olevia lakisäätei-
siä työturvallisuusmääräyksiä.
Sähkötyökalun käyttökohteet:
käsivarainen sähkötyökalu ilman vesijäähdytystä käytet-
tävksi säältä suojatuissa tiloissa. Koneessa saa käyttää
ainoastaan FEINin hyväksymiä työkaluja ja lisätarvikkeita:
PU-liimasaumojen avaamiseen ajoneuvojen ikkunoita
uusittaessa (henkilö- ja hyötyajoneuvot, linja-autot)
ajoneuvojen koripeltilevyjen sahaamiseen ja alustan-
suojamassan poistoon
ajoneuvon koripintojen hiontaan
puun (kork. 78 mm vahvuus), muovin, lasikuituvah-
visteisen muovin ja peltilevyjen (kork. 1 mm) sahaa-
miseen
laatoitussaumojen avaamiseen sekä laatoitusliiman ja
kokolattiamattojen liimajätteen karkeahiontaan ja
poistoon
pienikokoisten pintojen karkea- ja hienohiontaan
Erityiset varotoimenpiteet.
Tartu laitteeseen sen eristetyistä kahvapinnoista, jos teet
töitä kohteissa, joissa työkalu saattaa osua rakenteissa
piilossa oleviin sähköjohtoihin. Jos laite osuu jännitteelli-
seen johtoon, sen metalliset osat saattavat johtaa sähköä,
mistä on seurauksena sähköisku.
Varmista sopivin apukeinoin työkappaleen asento ja tue
se vankan alustan varaan. Jos työkappaletta pidetään
kädessä tai se tuetaan kehoa vasten, asento ei ole tar-
peeksi tukeva, jolloin työkappale saattaa sinkoutua pois
käsistä.
Pidä sähkötyökalua varmassa otteessa ja niin, ettei työ-
kalu voi koskaan osua kehoon varsinkaan tilanteissa,
joissa kahvaosan lähelle sattuu jokin työkalu kuten esim.
sahanterä tai leikkuri. Terät tai terävät reunat voivat
aiheuttaa viiltohaavoja.
Muista suojavarusteet: työstökohteesta riippuen joko
kasvosuojain tai suojalasit, lisäksi pölyn suodattava hen-
gityssuojain ja kuulosuojaimet. Suojalasien on oltava niin
umpinaiset, että varma suoja ilmassa sinkoilevalta pölyltä
ja lastuilta on taattu. Pölysuodattimen tai hengityssuojai-
men on pystyttävä suodattamaan tehokkaasti työstön
aikana erittyvät epäpuhtaudet. Jatkuva, korkea melutaso
voi vahingoittaa kuuloa.
Käytä suojakäsineitä. Teräväreunaiset työkalut leikkaavat
helposti haavoja käsiin.
Sähkötyökaluun ei saa kiinnittää kilpiä tms. poraamalla tai
niittaamalla. Jos koneen eristystä vioitetaan, seurauksena voi
olla sähköiskun vaara. Suositamme tarrakiinnitteisiä kilpiä.
Työkalun ilmanottoaukot on puhdistettava säännöllisesti
sopivin apuvälinein (metallisia työkaluja ei saa käyttää).
Puhallin imee pölyä moottorin rungon sisään. Jos metalli-
pitoista pölyä pääsee kerääntymään liikaa, siitä koituu säh-
köiskun vaara.
Akkujen käyttö ja käsittely
Jotta akkuja käsiteltäessä vältetään vaarat ja riskit
palon- tai räjähdyksen vaara, palovammat, ihovammat ja
muut tapaturmat , on noudatettava seuraavia ohjeita:
Akkuja ei saa purkaa, avata eikä pilkkoa. Akkuihin ei saa
kohdistaa mekaanisia iskuja. Väärän käsittelyn seurauk-
sena vioittuneesta akusta voi purkautua haitallista höyryä ja
akkunestettä. Akkunestehöyryt voivat ärsyttää hengitystei-
tä. Iholle päässyt akkuneste voi ärstyttää tai syövyttää ihoa.
Jos viallisesta akusta on virrannut ulos akkunestettä vie-
ressä olevien esineiden päälle, tarkista kyseiset kohdat
ja pese ne, tarvittaessa osat on vaihdettava uusiin.
Akkua ei saa viedä lähelle lämpölähteitä tai avotulta. Akkua
ei saa varastoida paikassa, mihin osuu auringonvalo.
Ota akku ulos alkuperäispakkauksesta vasta sitten, kun
se otetaan käyttöön.
Irrota akku aina ensin sähkötyökalusta, ennen kuin ryh-
dyt valmistelemaan töitä. Jos sähkötyökalu käynnistyy
vahingossa, se voi aiheuttaa tapaturman.
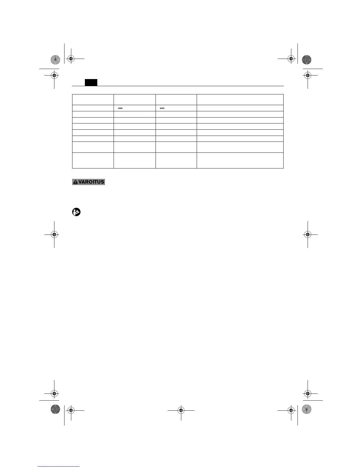
Merkki Kansainvälinen
yksikkö
Kansallinen yksikkö Selitys
U VVTasajännite
n
S
/min /min Nimellinen värähtelyarvo
L
wA
dB dB nitaso
L
pA
dB dB Aänen painetaso
L
pCpeak
dB dB Äänen painetason huippuarvo
K... Epävarmuustekijä
a m/s
2
m/s
2
Värähtelytasoarvo vastaa standardia EN 60745
(vektorisumma, kolmiulotteinen)
m, s, kg, A, mm, V,
W, Hz, N, °C, dB,
min, m/s
2
m, s, kg, A, mm, V,
W, Hz, N, °C, dB,
min, m/s
2
Kansanväliseen SI-järjestelmään sisältyvät
perusyksiköt ja sen johdannaisyksiköt.
OBJ_BUCH-0000000003-001.book Page 56 Monday, April 12, 2010 2:11 PM

Table of Contents

Related product manuals