EasyManua.ls Logo

Fein AFSC18 - Za Vašu Sigurnost

Fein AFSC18
Print Icon
To Next Page IconTo Next Page
To Next Page IconTo Next Page
To Previous Page IconTo Previous Page
To Previous Page IconTo Previous Page
Loading...
88
sr
Za Vašu sigurnost.
Čitajte sva sigurnosna upozorenja i
uputstva. Propusti kod održavanja
sigurnosnih upozorenja i uputstava mogu prouzrokovati
električni udar, požar i/ili teške povrede.
Čuvajte sva sigurnosna upozorenja i uputstva za
budućnost.
Ne upotrebljavajte ovaj električni alat, pre nego što
temeljno ne pročitate i potpuno razumete ovo
uputstvo za rad kao i priložena „Opšta sigurnosna
upozorenja“ (broj spisa 3 41 30 054 06 1). Čuvajte
navedenu dokumentaciju za kasniju upotrebu i predajte
je kod nekog otudjenja ili davanja električnog alata.
Pazite isto tako na važeće nacionalne propise o zaštiti na
radu.
Odredjivanje električnog alata:
ručno vodjeni električni alat za upotrebu sa
upotrebljenim alatima koje odobrava FEIN i pribor bez
dovoda vode u okolini zaštićenoj od vremena:
za sečenje poliuretanskih lepljivih delova pri
zastakljivanju putničkih kola, kamiona i autobusa
za testerisanje limova karoserije i uklanjanje materijala
podne zaštite
za brušenje delova karoserije
za testerisanje drveta (maks. 78 mm), plastike,
plastike pojačane staklenim vlaknima (GFK) i za
testrerisanje limova (maks. 1 mm)
za razdvajanje fugni pločica i turpijanje i čišćenje lepka
pločica ili ostataka na podu gde dolazi tepih
za radove brušenja ili čišćenja manjih površina
Specijalna sigurnosna upozorenja.
Držite uredjaj za izolovane drške, kada izvodite radove,
kod kojih upotrebljeni električni alat može sresti skrivene
vodove struje. Kontakt sa vodom koji može provoditi
struju može staviti pod napon i metalne delove uredjaja i
uticati na električni udar.
Upotrebljavajte stezače ili neku drugu praktičnu metodu,
da bi obezbedili i učvrstili radni komad na stabilnoj
podlozi. Kada radni komad držite samo rukom ili na
svome telu, nalazite se u nestabilnom položaju koji može
uticati na gubitak kontrole.
Hvatajte električni alat tako sigurno, da Vaše telo,
posebno u radu sa upotrebljenim alatima kao što su
listovi testere ili alati za presecanja koji su upravljeni u
područje hvatanja, nikada ne dodju u dodir sa
upotrebljenim alatom. Dodir sa oštrim ivicama ili
noževima može uticati na povrede.
Koristite zaštitnu opremu. Koristite zavisno od primene,
zaštitu za lice ili zaštitne naočare. Koristite masku za
prašinu. Koristite zaštitu za sluh. Zaštitne naočare moraju
biti pogodne, da pri različitim radovima zaštite od
odlutalih čestica. Zaštitna maska za prašinu odn. disanje
mora biti sposobna, da filtrira čestice koje nastaju u radu.
Jedna trajno veliko opterećenje galamom može uticati na
oštećenje sluha.
Koristite zaštitne ruk avice. Usled upotrebljenog alata sa
oštrim ivicama postoji opasnost od povreda.
Zabranjeno je zavrtati tablice i znake na električni alat ili
ih nitovati. Oštećena izolacija ne pruža neku zaštitu
protiv električnog udara. Upotrebljavajte lepljive tablice.
Čistite redovno otvore za provetravanje električnog alata
sa nemetalnim alatima. Motorna duvaljka vuče vazduh u
kućište. Ovo može kod prekomernog sakupljanja
metalne prašine prouzrokovati električnu opasnost.
Upotreba i rad sa akumulatorom (akumulatorski
blok)
Da bi izbegli opasnosti kao što su opekotine, požar,
eksploziju, povrede kože i druge povrede pri ophodjenju
sa akumulatorom, obratite pažnju na sledeća uputstva:
Akumulatori se ne smeju rastavljati, otvarati ili
smanjivati. Ne izlažite akumulatore mehaničkim udarima.
Pri oštećenju i nestručnoj upotrebi akumulatora mogu
izlaziti štetna isparenja i tečnosti. Isparenja mogu
nadraživati disajne puteve. Tečnost akumulatora koja
izlazi može uticati na nadražaje kože ili opekotine na
koži.
U slučaju da iz oštećenog akumulatora izadje tečnost i
ovlaži ivične predmete, prekontrolišite odgovarajuće
delove, očistitre ih ili ih u datom slučaju zamenite.
Ne izlažite akumulator toploti ili vatri. Ne čuvajte
akumulator na sunčevom svetlu.
Izvadite akumulator tek onda iz njegovog originalnog
pakovanja, kada treba da se koristi.
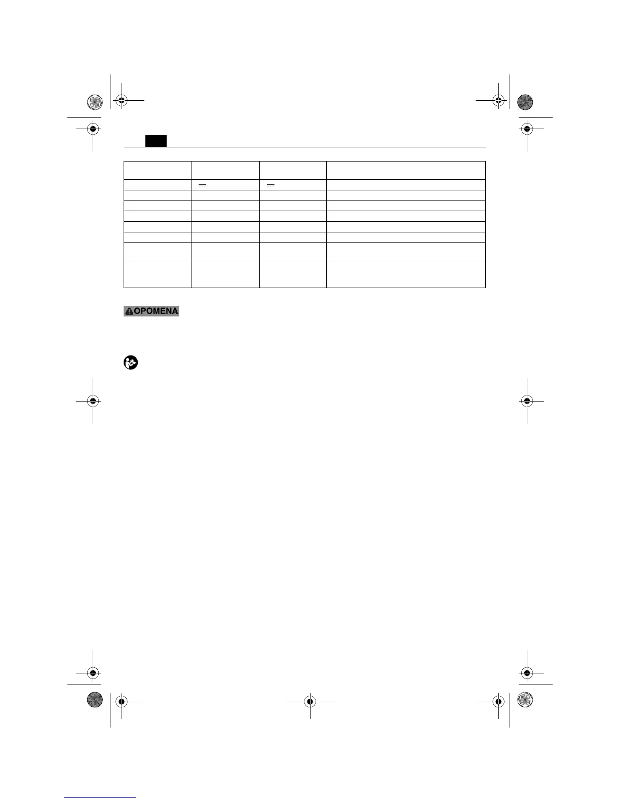
Znak Jedinica
internacionalna
Jedinica nacionalna Objašnjenje
U V V električni jednosmerni napon
n
S
/min /min Broj oscilacija za odredjivanje dimenzija
L
wA
dB dB Brzi nivo snage
L
pA
dB dB Nivo zvučnog pritiska
L
pCpeak
dB dB Vršni nivo zvučnog pritiska
K... Nesigurnost
a m/s
2
m/s
2
Emisiona vrednost vibracija je prema EN 60745
(Zbir vektora tri pravca)
m, s, kg, A, mm, V,
W, Hz, N, °C, dB,
min, m/s
2
m, s, kg, A, mm, V,
W, Hz, N, °C, dB,
min, m/s
2
Bazne i izvedene jedinice iz internacionalnog
sistema jedinica SI.
OBJ_BUCH-0000000003-001.book Page 88 Monday, April 12, 2010 2:11 PM

Table of Contents

Related product manuals