EasyManua.ls Logo

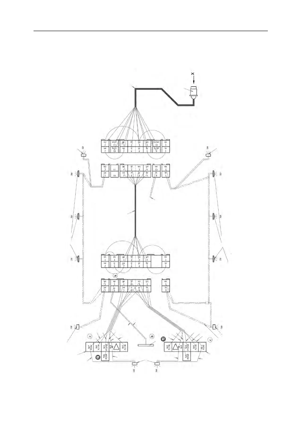
FENDT Saphir 410 QK - Circuit Diagram for Lighting in the Vehicle 12 V 13-Pole

FENDT Saphir 410 QK
118 pages
Print Icon
To Next Page IconTo Next Page
To Next Page IconTo Next Page
To Previous Page IconTo Previous Page
To Previous Page IconTo Previous Page
Loading...
07-8
Distribution panel, front
Distribution panel, rear
410 on both sides without SM lights
450-740 on both sides, 2-3 SM lights
Side positioning light
Cable, 12-pin
Cable, 8-pin
12/13-pole plug
12V supply, interior
Navigation light
Side positioning light
Navigation light
Clearance light
Clearance light
Rear light, left
Rear light, right
Only for rear washroom,
back right
3rd brake light
Licence plate lamp
grey/red
grey
grey
grey
blue
blue
red
red
black
black
white
white
white
white
green
yellow
brown
brown
7.4 Circuit diagram for lighting in the vehicle 12V
13-pole

Table of Contents

Related product manuals