EasyManua.ls Logo

Fiplex DH7 Series - System Block Diagram

Fiplex DH7 Series
42 pages
Print Icon
To Next Page IconTo Next Page
To Next Page IconTo Next Page
To Previous Page IconTo Previous Page
To Previous Page IconTo Previous Page
Loading...
UM-0821 5
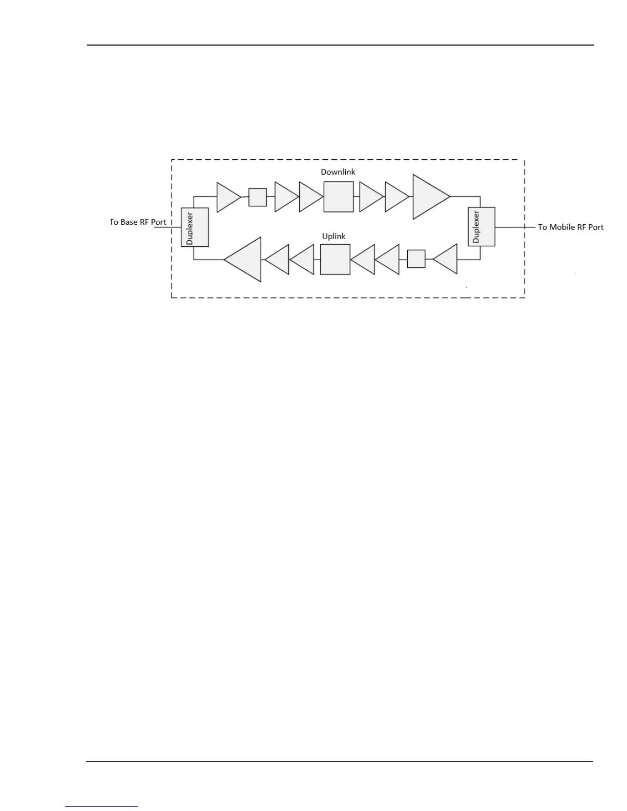
2.1. System Block Diagram.
The following image represents a general bock diagram of this Signal
Booster.