EasyManua.ls Logo

Firecom 3025R - Page 9

Firecom 3025R
10 pages
Print Icon
To Next Page IconTo Next Page
To Next Page IconTo Next Page
To Previous Page IconTo Previous Page
To Previous Page IconTo Previous Page
Loading...
SYSTEM TEST
7
REMOTE HEAD TEST
1. Press the volume up and down arrow. Note the same changes on the base unit.
2. Press the DMR buttons. Note the same changes on the base unit.
3. Press the radio select buttons. Note the same changes on the base unit.
REMOTE HEAD DOESN'T WORK
1. Make sure the CA cable is inserted all the way.
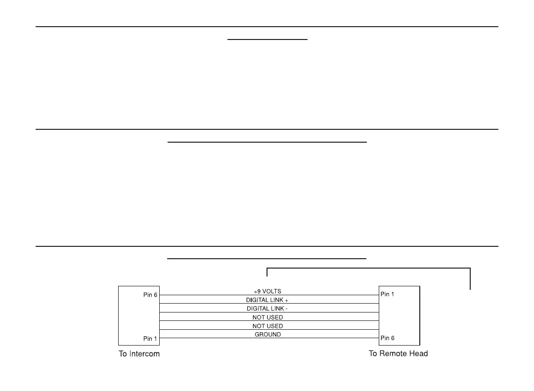
2. Make sure the cable ends were installed correctly, see Figure 9 on page 6.
3. Check that the ribbon cable from the membrane switch is fully inserted into the edge connectors on the circuit board.
4. Contact Firecom for a Return Materials Authorization (RMA) number to return the remote head for repair.
ADVANCED TROUBLESHOOTING
ADVANCED TROUBLESHOOTING
FIGURE 10:
Remote Head
Wiring
Remote Head Manual 12/4/03 10:06 AM Page 9

Related product manuals