EasyManua.ls Logo

Firenzi FSF 650 - Controls; Before the First Use

Default Icon
20 pages
Print Icon
To Next Page IconTo Next Page
To Next Page IconTo Next Page
To Previous Page IconTo Previous Page
To Previous Page IconTo Previous Page
Loading...
5
Controls
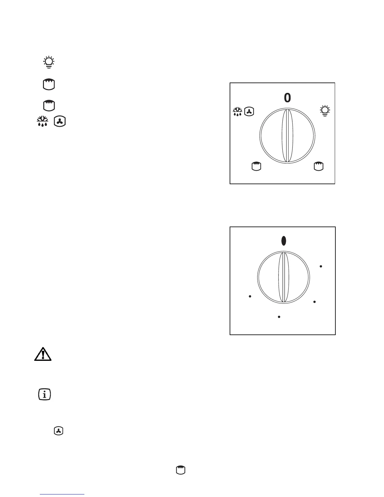
Oven Function Control Knob
Oven light - The oven light will be on without
any cooking function.
Inner grill element only - Can be used for grilling
small quantities.
Full Grill - The full grill element will be on.
- Fan cooking/Defrost Setting
Defrost Setting - This setting is intended to
assist in thawing of frozen food. Ensure that
the thermostat knob is in the 'OFF' position.
Fan cooking - This allows you to roast or roast
and bake simoultaneously using any shelf,
without flavour transference.
Mains on indicator
The mains on light will come on when the oven function
control knob is set.
Thermostat Control Knob (°C)
Turn the thermostat control knob clockwise to select
temperatures between 50°C and MAX.
Thermostat Control Indicator
The thermostat control indicator will come on when the
thermostat control knob is turned. The indicator will remain
on until the correct temperature is reached. It will then cycle
on and off to show the temperature is being maintained.
The Safety Thermostat
This oven is provided with a safety thermostat. In case of
malfunctioning of the main thermostat, and consequent over-
heating, the safety device will stop the power supply to the
appliance. If this happens, call your local Service Force
Centre. Under no circumstances should you attempt to repair
the appliance yourself.
FO 2824
FO 2673
100
50
150
200
MAX
Before the First Use
Remove all packaging, both inside and outside the
oven, before using the oven.
Before first use, the oven should be heated without food.
During this time, an unpleasant odour may be emitted. This
is quite normal.
The oven will work only if the time of day has
been set.
1. Set the time of day with the electronic programmer
(see chapter "Electronic Programmer").
2. Switch the oven function control knob to fan cooking
.
3. Set the thermostat control knob to MAX.
4. Open a window for ventilation.
5. Allow the oven to run empty for approximately 45
minutes.
This procedure should be repeated with the grill function
for approximately 5-10 minutes.
))
))
)

Related product manuals