EasyManua.ls Logo

First Alert 9120 - If You Suspect a Problem; Troubleshooting Common Issues; Recommended Locations For Smoke Alarms; Placement in Homes and RVs

First Alert 9120
7 pages
Print Icon
To Next Page IconTo Next Page
To Next Page IconTo Next Page
To Previous Page IconTo Previous Page
To Previous Page IconTo Previous Page
Loading...
“LATCHING ALARM” INDICATOR
IF YOU SUSPECT A PROBLEM
Smoke Alarms may not operate pr
operly because of dead, missing or weak
batteries, a build-up of dirt, dust or gr
ease on the Smoke Alarm cover, or
installation in an improper location. Clean the Smoke Alarm as described in
“Regular Maintenance,” and install a fr
esh battery, then test the Smoke Alarm
again. If it fails to test pr
operly when you use the Test/Silence button, or if the
problem persists, replace the Smoke Alarm immediately.
If you hear a “chirp” once a minute, replace the battery.
If you experience frequent non-emergency alarms (like those caused
by cooking smoke), try relocating the Smoke Alarm.
If the alarm sounds when no smoke is visible, try cleaning or
r
elocating the Smoke Alarm. The cover may be dirty.
If the alarm does not sound during testing, make sure it is receiving
AC power from the household current.
Always discharge the branch circuit before servicing an AC or AC/DC
Smoke Alarm. First, turn off the AC power at the circuit breaker or fuse
box. Next, remove the battery from Smoke Alarms with battery back-up.
Finally, press and hold the test button for 5-10 seconds to discharge the
branch circuit.
If the Smoke Alarm is still not operating properly, and it is still under warranty,
please see “How to Obtain Warranty Service” in the Limited Warranty.
Do not try fixing the alarm yourself – this will void your warranty!
RECOMMENDED LOCATIONS
FOR SMOKE ALARMS
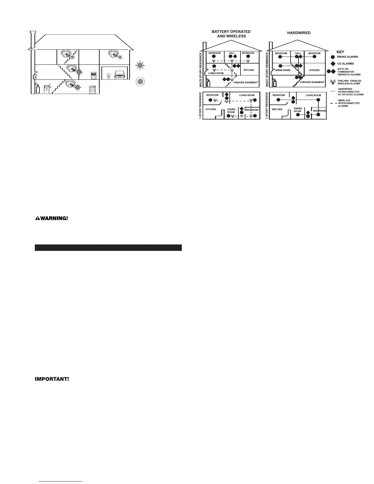
Installing Smoke Alarms in Single-Family Residences
The National Fire Protection Association (NFPA), recommends one Smoke
Alarm on every floor, in every sleeping area, and in every bedroom. In new
construction, the Smoke Alarms must be AC powered and interconnected.
See “Agency Placement Recommendations” for details. For additional cover
-
age, it is recommended that you install a Smoke Alarm in all rooms, halls,
storage areas, finished attics, and basements, where temperatures normally
remain between 40˚ F (4˚ C) and 100˚ F (38˚ C). Make sure no door or other
obstruction could keep smoke from reaching the Smoke Alarms.
More specifically, install Smoke Alarms:
On every level of your home, including finished attics and basements.
Inside every bedr
oom, especially if people sleep with the door partly or
completely closed.
In the hall near every sleeping area. If your home has multiple sleeping
areas, install a unit in each. If a hall is more than 40 feet (12 meters) long,
install a unit at each end.
At the top of the first-to-second floor stairway, and at the bottom of the
basement stairway.
Specific requirements for Smoke Alarm installation vary from state to state
and fr
om r
egion to region. Check with your local Fire Department for current
r
equir
ements in your ar
ea.
It is r
ecommended AC or AC/DC units be
interconnected for added protection.
GARAGE
B
EDROOM
BEDROOM
HALL
LIVING ROOM
K
ITCHEN
BASEMENT
BEDROOM
L
ATCHING ALARM: 
U
nit was exposed 
t
o alarm levels of Smoke
LATCHING NOT ACTIVATED: 
U
nit was not exposed 
t
o alarm levels of Smoke
K
EY:
The Latching Alarm Indicator is automatically activated after an Alarm is
exposed to alarm levels of smoke. After smoke levels drop below alarm levels,
the gr
een LED will be On for 2 seconds/Off for 2 seconds, repeatedly. This
feature helps emergency responders, investigators, or service technicians
identify which unit(s) in your home were exposed to alarm levels of smoke
after the condition has subsided. The Latching Alarm Indicator stays ON until
you reset it by pressing the Test/Silence button. The Latching Alarm Indicator
is also reset when AC and DC power is removed from the Alarm.
LOCATIONS TO AVOID FOR SMOKE ALARMS
For best performance, AVOID installing Smoke Alarms in these areas:
Where combustion particles are produced. Combustion particles form
when something burns. Areas to avoid include poorly ventilated kitchens,
garages, and furnace rooms. Keep units at least 20 feet (6 meters) from
the sour
ces of combustion particles (stove, fur
nace, water heater, space
heater) if possible. In areas where a 20-foot (6 meter) distance is not
possible – in modular, mobile, or smaller homes, for example – it is
recommended the Smoke Alarm be placed as far from these fuel-burning
sour
ces as possible. The placement recommendations are intended to
keep these Alarms at a r
easonable distance fr
om a fuel-bur
ning sour
ce,
and thus reduce “unwanted” alarms. Unwanted alarms can occur if a
Smoke Alarm is placed directly next to a fuel-burning source. Ventilate
these areas as much as possible.
In air streams near kitchens. Air currents can draw cooking smoke into
the sensing chamber of a Smoke Alarm near the kitchen.
In very damp, humid or steamy areas, or directly near bathrooms with
showers. Keep units at least 10 feet (3 meters) away fr
om showers,
saunas, dishwashers, etc.
Where the temperatures are regularly below 40˚F (4˚ C) or above
100˚ F (38˚ C) including unheated buildings, outdoor rooms, porches,
or unfinished attics or basements.
In very dusty, dirty, or greasy areas. Do not install a Smoke Alarm directly
over the stove or range. Clean a laundry room unit frequently to keep it
free of dust or lint.
Near fr
esh air vents, ceiling fans, or in very drafty areas. Drafts can blow
smoke away from the unit, preventing it from reaching sensing chamber.
Continued...
AGENCY PLACEMENT RECOMMENDATIONS
NFPA 72 (National Fire Code) Chapter 11
“For your information, the National Fire Protection Association's Standard 72,
reads as follows:
11.5.1 One- and Two-Family Dwelling Units.
11.5.1.1 Smoke Detection.
Where required by applicable laws, codes, or
standards for the specified occupancy, approved single- and multiple-station
Smoke Alarms shall be installed as follows: (1) In all sleeping rooms.
Exception: Smoke Alarms shall not be required in sleeping rooms in existing
one- and two-family dwelling units. (2) Outside of each separate sleeping
area, in immediate vicinity of the sleeping rooms. (3) On each level of the
dwelling unit, including basements. Exception: In existing one- and two family
dwelling units, approved Smoke Alarms powered by batteries are permitted.
A.11.8.3 Are More Smoke Alarms Desirable? The required number of
Smoke Alarms might not provide reliable early warning protection for those
areas separated by a door from the areas protected by the required Smoke
Alarms. For this reason, it is recommended that the householder consider
the use of additional Smoke Alarms for those areas for increased protection.
The additional areas include the basement, bedrooms, dining room, furnace
room, utility room, and hallways not protected by the required Smoke
Alarms. The installation of Smoke Alarms in kitchens, unfinished attics, or
garages is not normally recommended, as these locations occasionally
experience conditions that can result in improper operation.”
California State Fire Marshal (CSFM)
Early warning detection is best achieved by the installation of fire detection
equipment in all rooms and areas of the household as follows: A Smoke Alarm
installed in each separate sleeping ar
ea (in the vicinity, but outside bedrooms),
and Heat or Smoke Alarms in the living rooms, dining rooms, bedrooms,
kitchens, hallways, finished attics, furnace rooms, closets, utility and storage
rooms, basements, and attached garages.
INSTALLING SMOKE ALARMS IN MOBILE HOMES & RVS
For minimum security install one Smoke Alarm as close to each sleeping ar
ea
as possible. For more security, put one unit in each room. Many older mobile
homes (especially those built before 1978) have little or no insulation. If your
mobile home is not well insulated, or if you ar
e unsure of the amount of
insulation, it is important to install units on inside walls only. Smoke Alarms
should be installed where temperatures normally remain between 40˚ F (4˚ C)
and 100˚ F (38˚ C).
W
ARNING: Test units used in RVs after the vehicle has
been in storage, before every trip, and once a week while in use. Failure
to test units used in RVs as described may remove your protection.
6
RECOMMENDED LOCATIONS FOR SMOKE ALARMS, Continued

Related product manuals