EasyManua.ls Logo

Fisher CA-224 - Page 8

Fisher CA-224
16 pages
Print Icon
To Next Page IconTo Next Page
To Next Page IconTo Next Page
To Previous Page IconTo Previous Page
To Previous Page IconTo Previous Page
Loading...
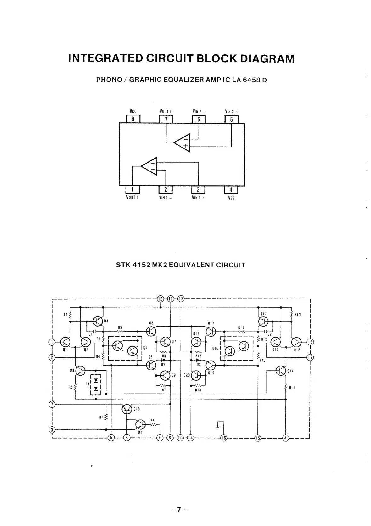
INTEGRATED
CIRCUIT
BLOCK
DIAGRAM
PHONO
/
GRAPHIC
EQUALIZER
AMP
IC
LA
6458
D
VIN
2
-
Your
2
STK
4152
MK2
EQUIVALENT
CIRCUIT
Ri4

Related product manuals