EasyManua.ls Logo

Flyer EPAC - Page 180

Flyer EPAC
Print Icon
To Next Page IconTo Next Page
To Next Page IconTo Next Page
To Previous Page IconTo Previous Page
To Previous Page IconTo Previous Page
Loading...
2 8 2 9
egttene
nce te seat as een rl an crtal
sitine, te anlears ust e auste t
ur nees.
An eectie starting sitin r relae riing is
o f f ered b y a s eat i ng p o s i t i o n i n w hi ch t he u p p er
 an ar r a 90 angle.
In rer t cange te eigt  te anlears,
te eigt  te ste ust e auste.
All ur FLYER secialist retailer t
aust te settings  te anlears an
te ste. Tis can e ne in arius
as eening n te el.
tngtete
Fr all stes, lease rea te instruc-
tins sulie  te anuacturer. nl
all ur FLYER secialist retailer t
rk n te anlears an ste.
C hang i ng t he p o s i t i o n o f t he s t em als o
canges te sitin  te anlears.
Yu sul alas e ale t sael
reac an use gris an cntrls. an-
dles w i t h a p ro no u nced w i ng s hap e m ay
nee t e resitine.
ake sure tat all cales an leas ae
a su cient lengt t all r all ssile
s t eeri ng m o v em ent s w hen chang i ng t he
anlear an ste sitin.
peetet
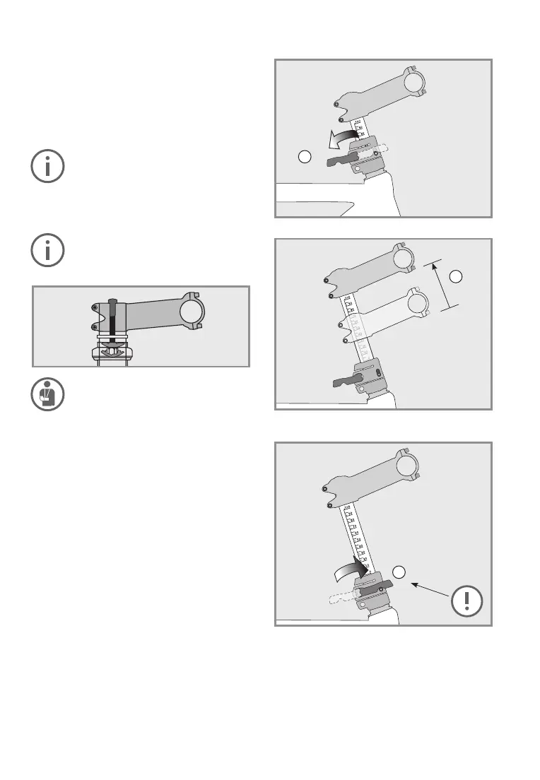
Te eeliter alls u t aust te eigt
 te anlears in nl a e eents. Te
Tist sste akes it ssile t turn te anle-
b ars 9 0 deg rees t o s av e s p ace w hi le t rans p o rt i ng
an string ur FLYER.
en te uick-release leer  te eeliter
1.
e te anlears t te esire sitin 2.
lse te uick-release leer cletel t asten
te anlears 3.
1
2
3

Related product manuals