EasyManua.ls Logo

FMI BKT - Mounting Speed Control for Stamped Face Louvers

FMI BKT
8 pages
Print Icon
To Next Page IconTo Next Page
To Next Page IconTo Next Page
To Previous Page IconTo Previous Page
To Previous Page IconTo Previous Page
Loading...
www.fmiproducts.com
*
02'(/6:,7+67$03(')$&(/289(56
(B36, VB36 WOOD BURNING UNITS)
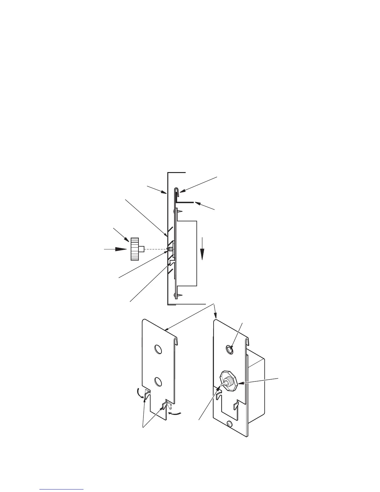
8VLQJSOLHUVEHQGWZRUHWDLQLQJWDEVRQ
VSHHGFRQWUROEUDFNHWGHJUHHVWRIURQW
RIEUDFNHWVHH)LJXUH
0RXQW VSHHG FRQWURO ER[ E\ SODFLQJ
SODVWLFFRQWUROVKDIWWKURXJKERWWRPKROH
RQ VSHHG FRQWURO EUDFNHW 7RS VFUHZ
KHDG RQ FRQWURO ER[ ZLOO ¿W LQVLGH WRS
KROHRQEUDFNHWVHH)LJXUH6HFXUH
VSHHG FRQWURO WR EUDFNHW ZLWK ORFN QXW
E\ SXVKLQJ DQG WXUQLQJ ORFN QXW ZLWK
SOLHUV FORFNZLVH XQWLO LW LVWLJKW DJDLQVW
EUDFNHW
5HPRYHNQRFNRXWSOXJIURPORXYHUSDQHO
E\GHSUHVVLQJWRSDQGERWWRPUHWDLQLQJ
FOLSVVHH)LJXUHSDJH
3RVLWLRQ VSHHG FRQWURO DVVHPEO\ RYHU
ÀDQJHRQKHDUWKSDQE\VOLGLQJEUDFNHW
XS EHWZHHQ WKH IDFH DQG ÀDQJH WKHQ
GRZQ XQWLO WKH FRQWURO VKDIW LV DOLJQHG
ZLWK WKH RSHQLQJ LQ WKH ORXYHU SDQHO
VHH)LJXUH
/RFNWZRUHWDLQLQJWDEVRQWRORZHUORXYHU
E\SUHVVLQJGRZQRQEUDFNHWDVVHPEO\
ZKLOHVOLGLQJFRQWURONQREWKURXJKUHFW-
DQJXODURSHQLQJRQORXYHUDQGRQWRWKH
FRQWUROVKDIWVHH)LJXUH
6SHHG&RQWURO
%UDFNHWZLWK
$VVHPEO\
6UHZ+HDG
DQG7RS+ROH
RQ%UDFNHW
&RQWURO
6KDIW
&RQWURO6KDIW
+HDUWK3DQ
)ODQJH
)LUHER[)DFH
6SHHG
&RQWURO
%UDFNHW
5HWDLQLQJ
7DEV
5HWDLQLQJ7DE
&RQWURO.QRE
/RXYHU3DQHO
/RFN1XW
Figure 9: Attaching Speed Control to Firebox with Stamp Faced Louvers (B36 and
VB36 Models) Using Speed Control Bracket 109892-01
MOUNTING SPEED
CONTROL
Continued

Related product manuals