EasyManua.ls Logo

Ford 2003 Ford Excursion - Page 129

Ford 2003 Ford Excursion
240 pages
Print Icon
To Next Page IconTo Next Page
To Next Page IconTo Next Page
To Previous Page IconTo Previous Page
To Previous Page IconTo Previous Page
Loading...
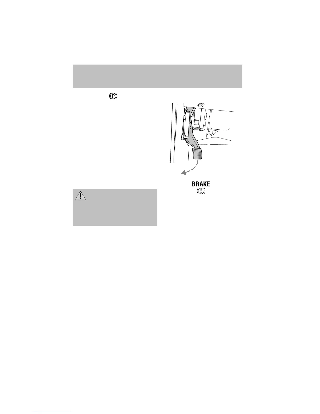
Parking brake
To set the parking brake, press the
parking brake pedal down until the
pedal stops. The BRAKE warning
lamp in the instrument cluster
illuminates and remains illuminated
until the parking brake is released.
To release the brake, pull the
release lever. to prevent the pedal
from releasing too quickly, place
your left foot on the parking brake
pedal, then pull the release lever,
making sure the pedal fully releases.
You may want to pull the release
lever again to make sure the parking
brake is full released.
Always set the parking
brake fully and make sure
that the gearshift is securely
latched in P (Park) (automatic
transmission) or in 1 (First)
(manual transmission).
If you’re parking your vehicle on a grade or with a trailer, press and hold
the brake pedal down, then set the parking brake. There may be a little
vehicle movement as the parking brake sets to hold the vehicle’s weight.
This is normal and should be no reason for concern. If needed, press and
hold the brake pedal down, release the parking brake, then try pushing
the parking brake pedal further down. Chock the wheels if required. If
the parking brake cannot hold the weight of the vehicle, the parking
brake may need to be serviced.
STEERING
To prevent damage to the power steering system:
Never hold the steering wheel at its furthest turning points (until it
stops) for more than a few seconds when the engine is running.
Do not operate the vehicle with a low power steering pump fluid level
(below the MIN mark on the reservoir).
Driving
129

Related product manuals