EasyManua.ls Logo

Ford 455 - MODEL NUMBER CODE; KEY TO PRODUCTION DATE CODES

Ford 455
41 pages
Print Icon
To Next Page IconTo Next Page
To Next Page IconTo Next Page
To Previous Page IconTo Previous Page
To Previous Page IconTo Previous Page
Loading...
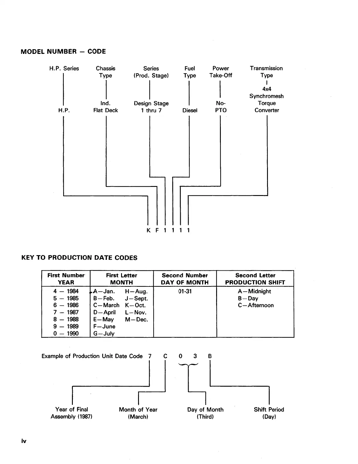
MODEL NUMBER - CODE
H.P. Series
H.P.
Chassis
Type
Ind.
Flat Deck
Series
(Prod. Stage)
Design Stage
1 thru 7
Fuel
Type
Diesel
K F
1 1 1 1
KEY TO PRODUCTION DATE CODES
First Number
First Letter Second Number
Power
Take-Off
No-
PTO
Transmission
Type
I
4x4
Synchromesh
Torque
Converter
Second Letter
YEAR MONTH DAY OF MONTH PRODUCTION SHIFT
iv
4 - 1984 .A-Jan. H-Aug.
5 - 1985 B-Feb. J-Sept.
6 - 1986
C-March
K-Oct.
7 - 1987 D-April
L-Nov.
8 - 1988
E-May
M-Dec.
9 - 1989
F-June
0 - 1990 G-July
Example of Production Unit Date Code 7
Year of Final
Assembly
(1987)
Month of Year
(March)
C
01-31
0 3 B
Day of Month
(Third)
A-Midnight
8-Day
C-Afternoon
Shift Period
(Day)
Find manuals at https://best-manuals.com