EasyManua.ls Logo

Franke ORBIT - Technical Specifications

Franke ORBIT
4 pages
Print Icon
To Previous Page IconTo Previous Page
To Previous Page IconTo Previous Page
Loading...
– 4 –
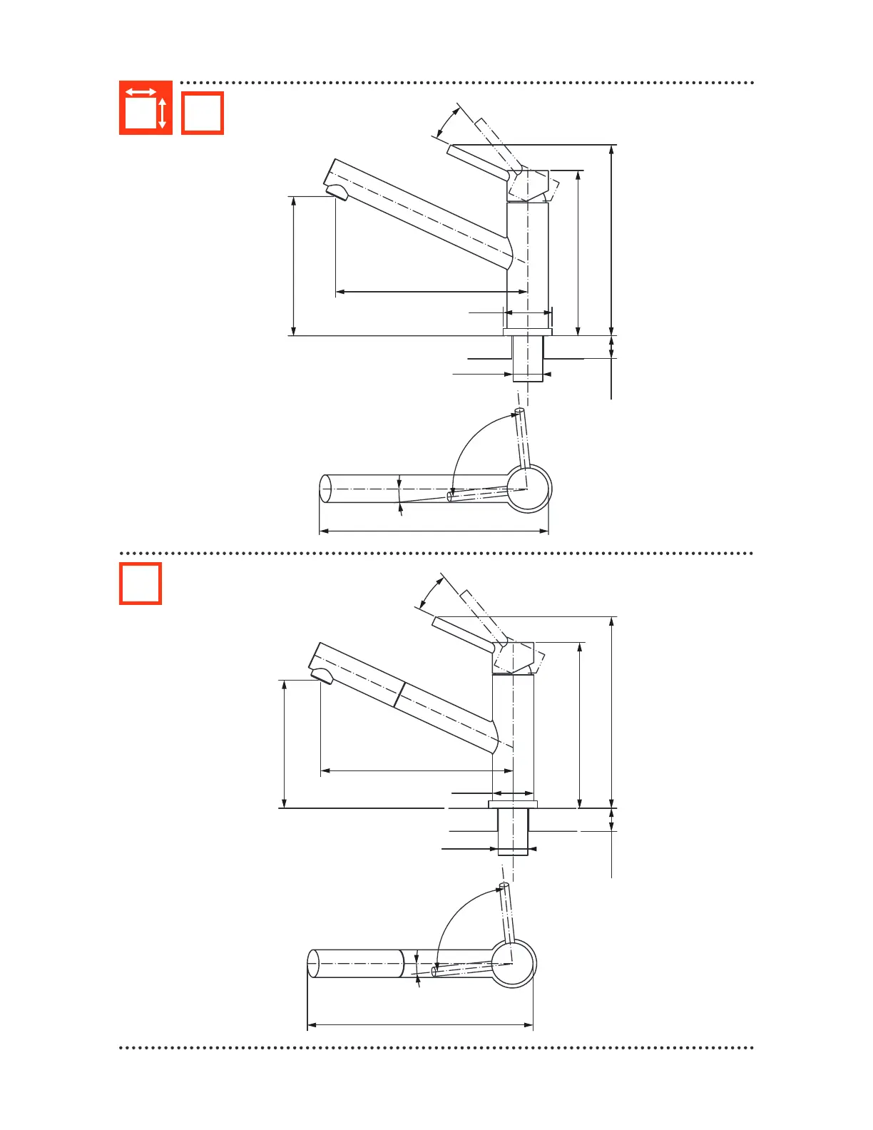
A
B
209
245
M34x1.5
45
180
139
209
55 max
25˚
85˚
6˚
209
250
53
M34x1.5
152
180
20855 max
25˚
85˚
6˚

Related product manuals