EasyManua.ls Logo

Frigelux CCO100BE - Page 51

Frigelux CCO100BE
Print Icon
To Next Page IconTo Next Page
To Next Page IconTo Next Page
To Previous Page IconTo Previous Page
To Previous Page IconTo Previous Page
Loading...
51
Questo apparecchio è stato progettato per essere solo in posizione orizzontale.
Posizionare il congelatore su un pavimento sufficientemente solido da sostenerlo
quando è completamente pieno.
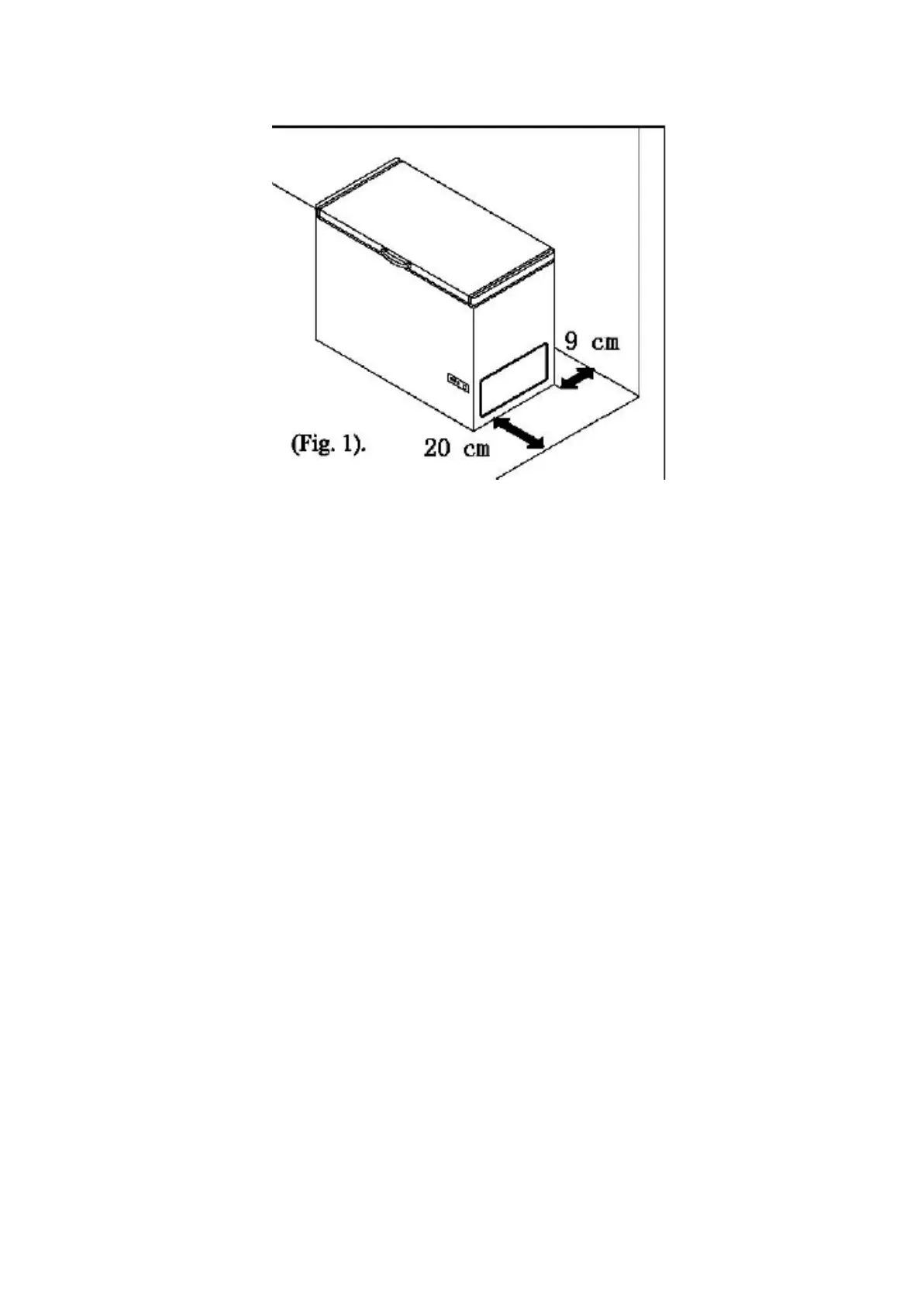
Lasciare 9 cm tra il retro del congelatore e il muro e 20 cm di spazio tra il lato del
congelatore e il muro che consentirà una buona circolazione dell'aria. Regola i piedini
per mantenere il livello del congelatore.
Proteggere dalla luce solare diretta o da altre fonti di calore (forno, radiatori, ecc.) Che
potrebbero danneggiare il rivestimento acrilico o aumentare il consumo energetico. Una
temperatura ambiente inferiore a 10 ° C e superiore a 30 ° C ridurrà le prestazioni del
dispositivo. Questo prodotto non è destinato all'uso in garage o in qualsiasi altra
installazione all'aperto.
Non collocare in un luogo umido.
Collegare il congelatore alla presa a muro prevista a tale scopo. Non tagliare o
rimuovere una forchetta dal cavo di alimentazione in nessuna circostanza. In caso di
domande, consultare un elettricista professionista o un centro di assistenza autorizzato.
Dopo aver collegato l'elettrodomestico alla presa a muro, accendere il congelatore e
attendere 2-3 ore affinché la temperatura scenda prima di inserire il cibo.
Assicurarsi che ci sia abbastanza spazio intorno all'unità per la libera circolazione dell'aria.
Livellamento del apparato/congelatore
Se il apparato/congelatore non è ben livellato, l’allineamento della porta e della guarnizione
magnetica non sarà corretto, il che potrebbe causare un malfunzionamento
dell’elettrodomestico. Una volta che il apparato/congelatore è stato collocato nella sua
posizione finale, regolare i piedini sulla parte frontale girandoli.
Pulizia prima dell’uso
Prima di attaccare la spina, pulire l’interno del apparato/congelatore con una soluzione diluita di
bicarbonato di sodio. Poi risciacquare con acqua calda usando una spugna o un panno bagnati.
Lavare i cassetti e i ripiani con acqua calda e sapone, quindi asciugarli molto bene prima di
ricollocarli all’interno del apparato/congelatore. Le parti esterne del apparato/congelatore
possono essere pulite con un prodotto lucidante.

Related product manuals