EasyManua.ls Logo

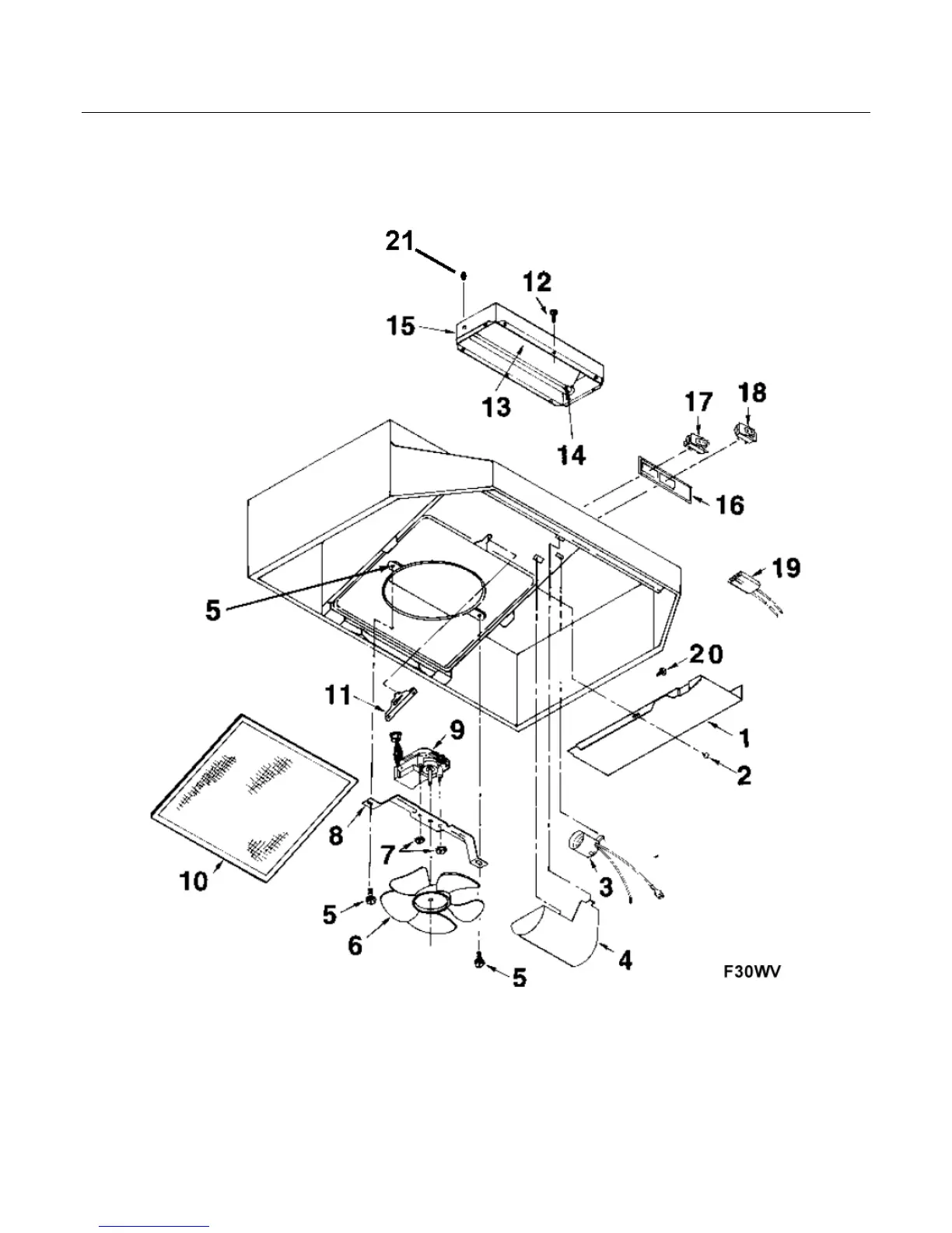
Frigidaire F30WV16E - Range Hood Replacement Parts; Parts Diagram

Frigidaire F30WV16E
4 pages
Print Icon
To Next Page IconTo Next Page
To Next Page IconTo Next Page
To Previous Page IconTo Previous Page
To Previous Page IconTo Previous Page
Loading...
Publication No: 5995459061 F30WV16E
02/06 2
REPLACEMENT PARTS

Related product manuals