EasyManua.ls Logo

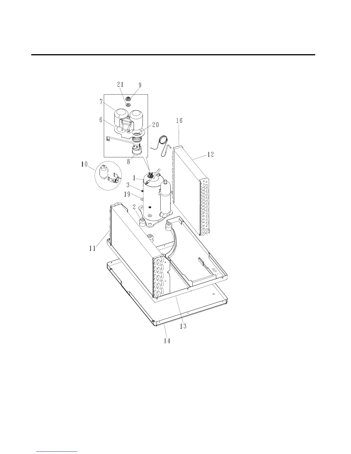
Frigidaire FAH086J1T2 - Compressor Parts

Frigidaire FAH086J1T2
11 pages
Print Icon
To Next Page IconTo Next Page
To Next Page IconTo Next Page
To Previous Page IconTo Previous Page
To Previous Page IconTo Previous Page
Loading...
FAH086J1T2
COMPRESSOR PARTS
5/00
7

Related product manuals