EasyManua.ls Logo

Frigidaire FRS26H5AS - Refrigerator Door Components

Frigidaire FRS26H5AS
21 pages
Print Icon
To Next Page IconTo Next Page
To Next Page IconTo Next Page
To Previous Page IconTo Previous Page
To Previous Page IconTo Previous Page
Loading...
Publication No: 5995402962 FRS26H5ASBA
01/04 4
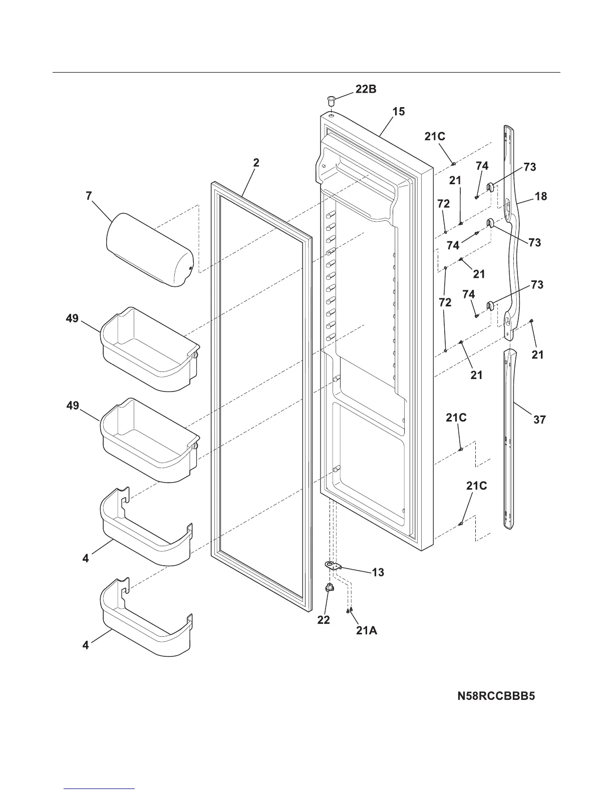
REFRIGERATOR DOOR

Related product manuals