EasyManua.ls Logo

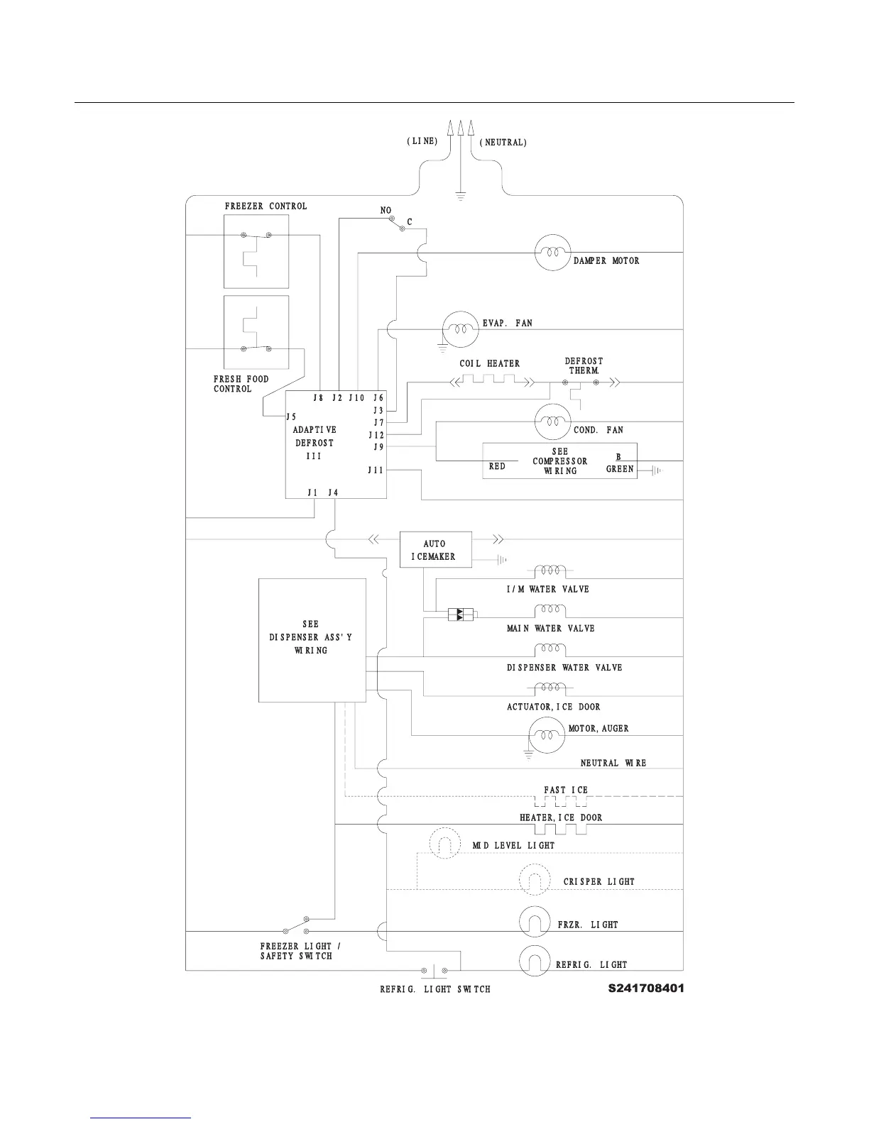
Frigidaire FRS6LF7J - Wiring Schematic

Frigidaire FRS6LF7J
23 pages
Print Icon
To Next Page IconTo Next Page
To Next Page IconTo Next Page
To Previous Page IconTo Previous Page
To Previous Page IconTo Previous Page
Loading...
Publication No: 5995508701 FRS6LF7J
03/08 22
WIRING SCHEMATIC

Related product manuals