EasyManua.ls Logo

Frigidaire FRS6R5E - Page 23

Frigidaire FRS6R5E
25 pages
Print Icon
To Next Page IconTo Next Page
To Next Page IconTo Next Page
To Previous Page IconTo Previous Page
To Previous Page IconTo Previous Page
Loading...
FRS6R5E Publication No: 5995496949
# Functional Parts
23 08/07
* Non-Illustrated Parts
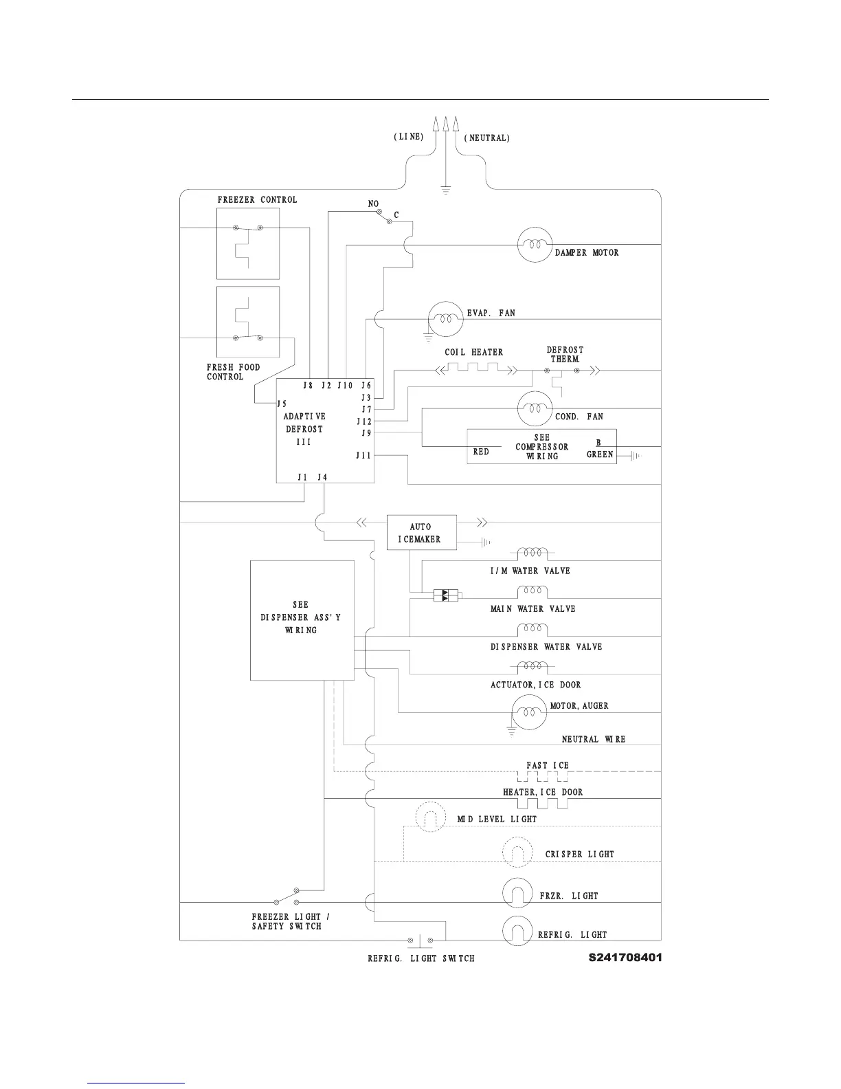
WIRING SCHEMATIC

Related product manuals