EasyManua.ls Logo

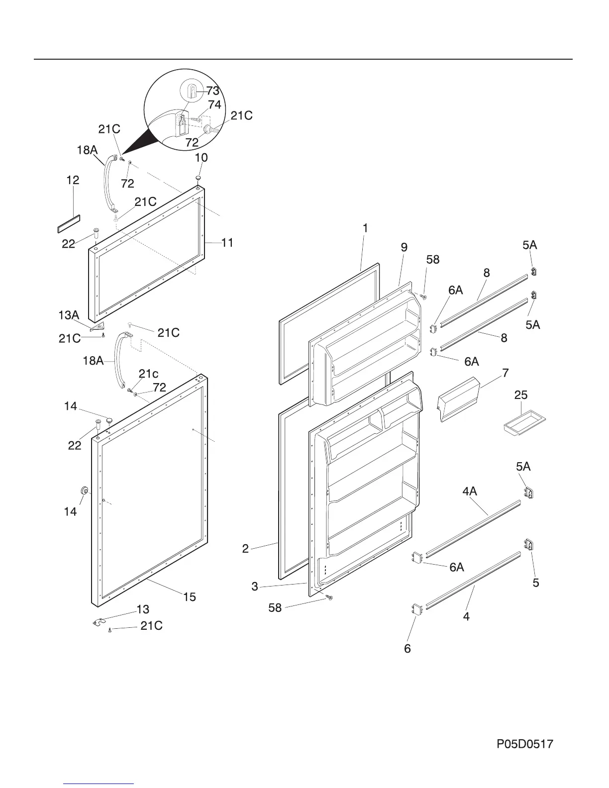
Frigidaire FRT13GRH - Refrigerator Door Components

Frigidaire FRT13GRH
11 pages
Print Icon
To Next Page IconTo Next Page
To Next Page IconTo Next Page
To Previous Page IconTo Previous Page
To Previous Page IconTo Previous Page
Loading...
08/00 2
Publication No. FRT13GRH
5995342358
DOOR

Related product manuals