EasyManua.ls Logo

Frigidaire PPH2RD - Page 9

Frigidaire PPH2RD
20 pages
Print Icon
To Next Page IconTo Next Page
To Next Page IconTo Next Page
To Previous Page IconTo Previous Page
To Previous Page IconTo Previous Page
Loading...
9
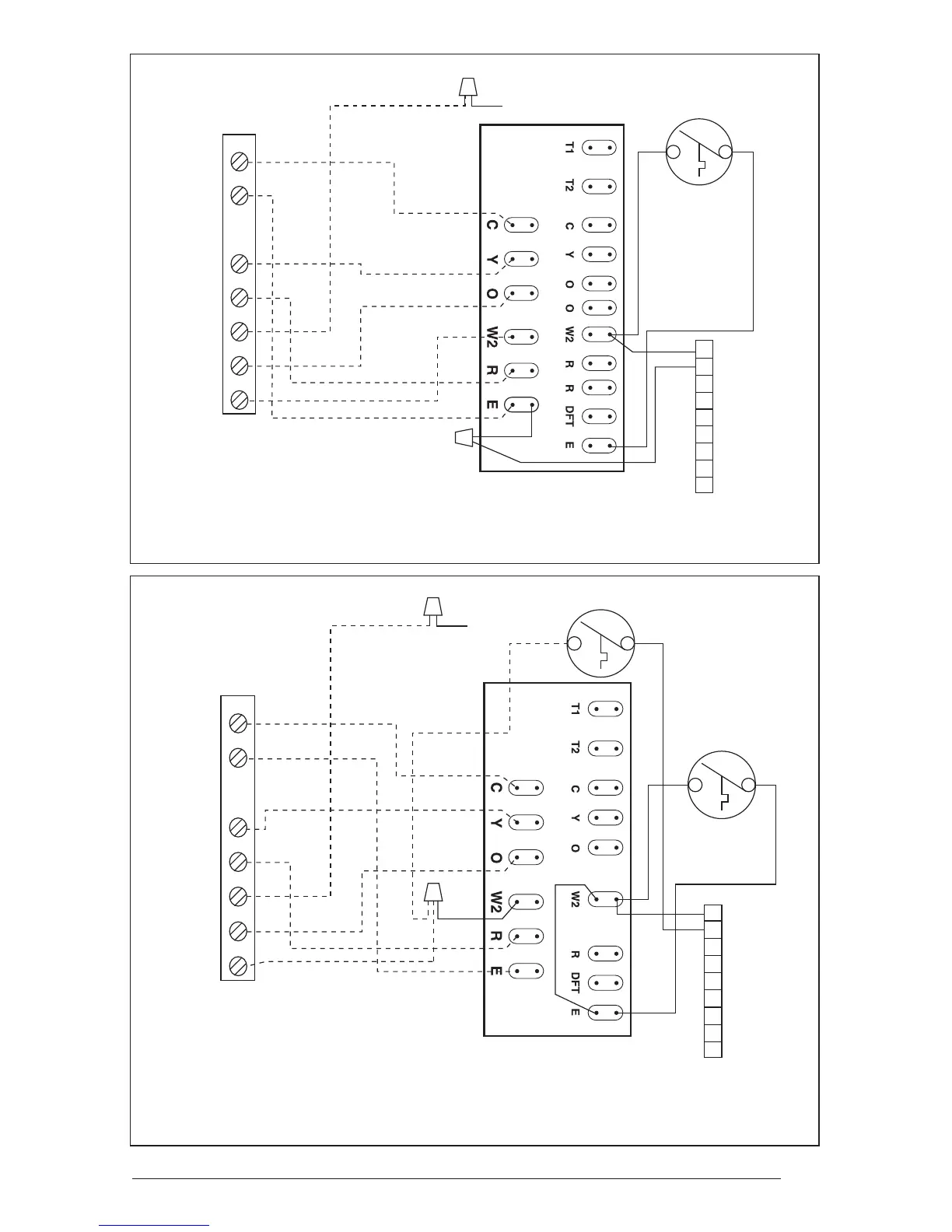
Typical Wiring (Field Supplied) for 1-Stage Cool, 1 Stage Electric Heat
Typical Wiring (Field Supplied) for 1-Stage Cool, 2-Stage Electric Heat
with an Optional Outdoor Thermostat
Figure 10. Typical Heat Pump Thermostat Connections
E
O
G
R
Y1
INDOOR
THERMOSTAT
SUB-BASE
Green
W2
C
DEFROST
BOARD
1
2
3
4
5
6
7
8
9
Brown
Orange
Accessory Heat Plug
Optional 2nd Stage
Outdoor Thermostat
(Field Supplied)
Outdoor Thermostat
(Factory Option)
E
O
G
R
Y1
INDOOR
THERMOSTAT
SUB-BASE
Green
W2
C
DEFROST
BOARD
1
2
3
4
5
6
7
8
9
Brown
Orange
Accessory Heat Plug
Outdoor
Thermostat
(Factory Option)

Related product manuals