EasyManua.ls Logo

Frontier RT 1142 - Page 56

Frontier RT 1142
74 pages
Print Icon
To Next Page IconTo Next Page
To Next Page IconTo Next Page
To Previous Page IconTo Previous Page
To Previous Page IconTo Previous Page
Loading...
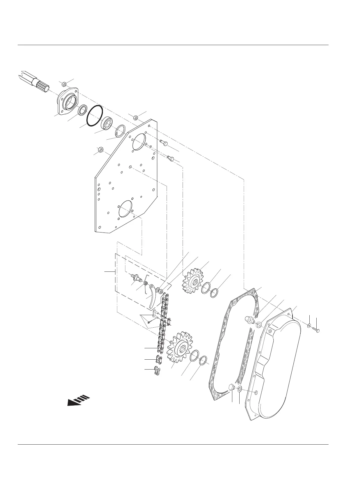
RT 1142 - 1149 - 1157 - 1165 - 1265 (October-16)
THIS PARTS LISTING IS CONTINUED
B4/m
LATERAL TRANSMISSION
RT 1157 - 1165
31
26
25
30
29
28
27
23
20
19
18
17
16
15
14
10
9
8
2
1
6
5
4
22
21
13
12
11
24
7
4
3
21
32

Related product manuals