EasyManua.ls Logo

Fujioh BUF-04J - Nomenclature

Fujioh BUF-04J
24 pages
Print Icon
To Next Page IconTo Next Page
To Next Page IconTo Next Page
To Previous Page IconTo Previous Page
To Previous Page IconTo Previous Page
Loading...
4
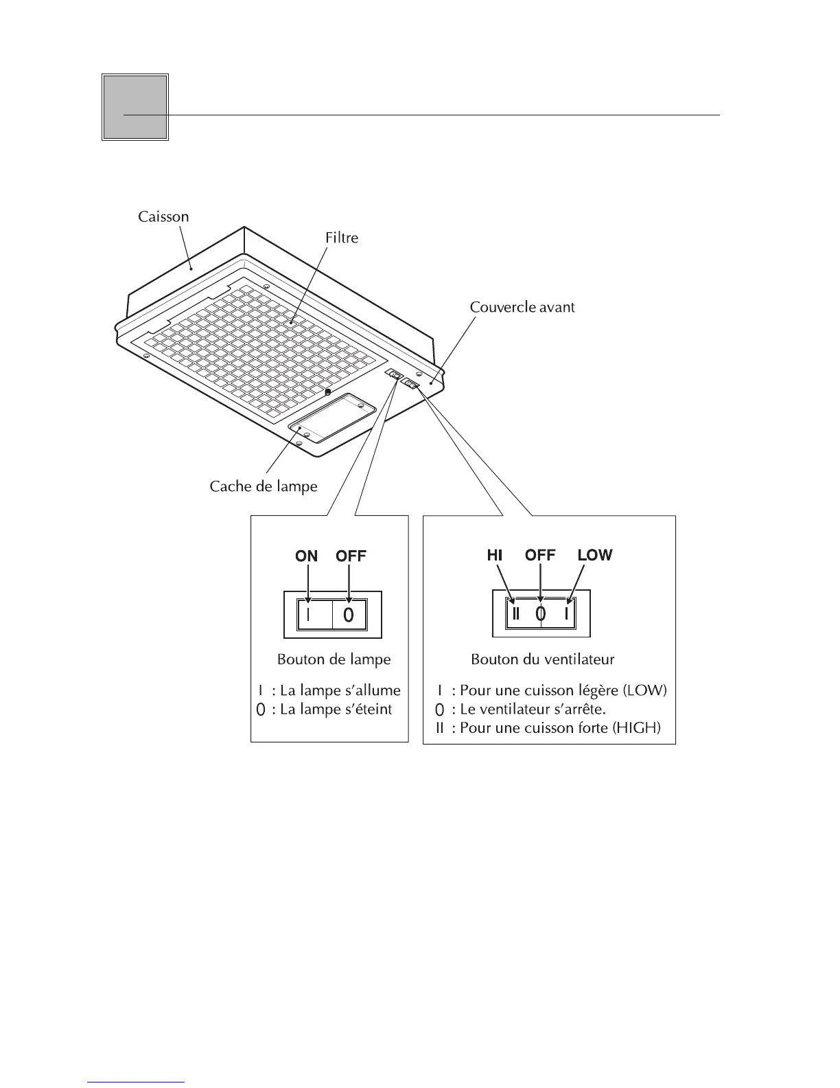
nomenclature