EasyManua.ls Logo

Fujitsu Airstage VR-II ASUB24TLAV - Priority Mode; Priority Mode Decision Methods; Opposite Operation Mode

Fujitsu Airstage VR-II ASUB24TLAV
246 pages
To Next Page IconTo Next Page
To Next Page IconTo Next Page
To Previous Page IconTo Previous Page
To Previous Page IconTo Previous Page
Loading...
03-03
Cooling priority
Heating priority
Method 3. (Management by indoor unit)
Operation mode management is made "Management by indoor unit" by RB unit DIP-SW
(field setting).
Then the master indoor unit is set by wired remote controller.
Thereupon the priority mode shifts to Cooling Priority or Heating Priority in accordance with input
from the master indoor unit regardless of the current priority mode.
The priority mode is fixed at either cooling or heating even if the master indoor unit stops
Cooling/Heating switching can be performed by the master indoor unit only.
(5) Opposite operation mode ( for connectable type )
When the operation mode commanded from an indoor unit (remote controller) and the operation mode
allowed by the system (cooling and dry operation for cooling only type and operation mode allowed by
priority mode for heat pump type) do not match, it is indicated by blinking of an LED.
Timer lamp: 3 secs ON/1 sec OFF repeated
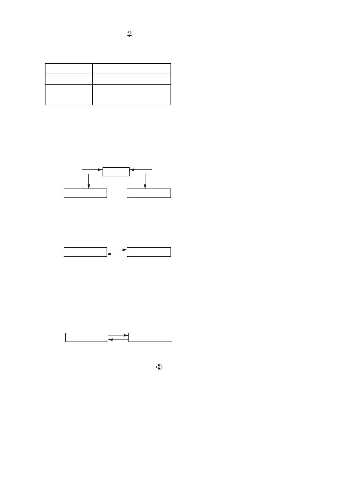
(4) Priority mode ( for connectable type )
The purpose of the priority mode is to restrict operation commands (heating, cooling, dry) from the
connected indoor units. There are 3 priority modes of Neutral, Cooling Priority, and Heating Priority.
The operation modes restricted by each of these modes are as follows:
Priority mode
Neutral
Cooling priority
Heating priority
Restricted operation mode
No restrictions
Heating
Cooling, dry
Neutral
Cooling priority
Heating priority
Cooling priority
Heating priority
Priority mode decision methods
Method 1. (Default value)
The initial priority mode is made Neutral and is shifted to Cooling Priority when cooling and to Heating
Priority when heating depending on which operation mode (cooling, heating) was input first.
After shifting to Cooling Priority or Heating Priority, the priority mode shifts to Neutral only when there
was a Stop input from all the indoor units in the same RB Group.
Method 2. (Management by RB unit)
Operation mode management is made "Management by RB unit" by RB unit DIP-SW
(field setting).
The priority mode shifts to Cooling Priority or Heating Priority in accordance with input from the RB
unit regardless of the current mode.

Table of Contents

Related product manuals