EasyManua.ls Logo

Fujitsu AOG30AMBL - Circuit Diagram

Fujitsu AOG30AMBL
63 pages
Print Icon
To Next Page IconTo Next Page
To Next Page IconTo Next Page
To Previous Page IconTo Previous Page
To Previous Page IconTo Previous Page
Loading...
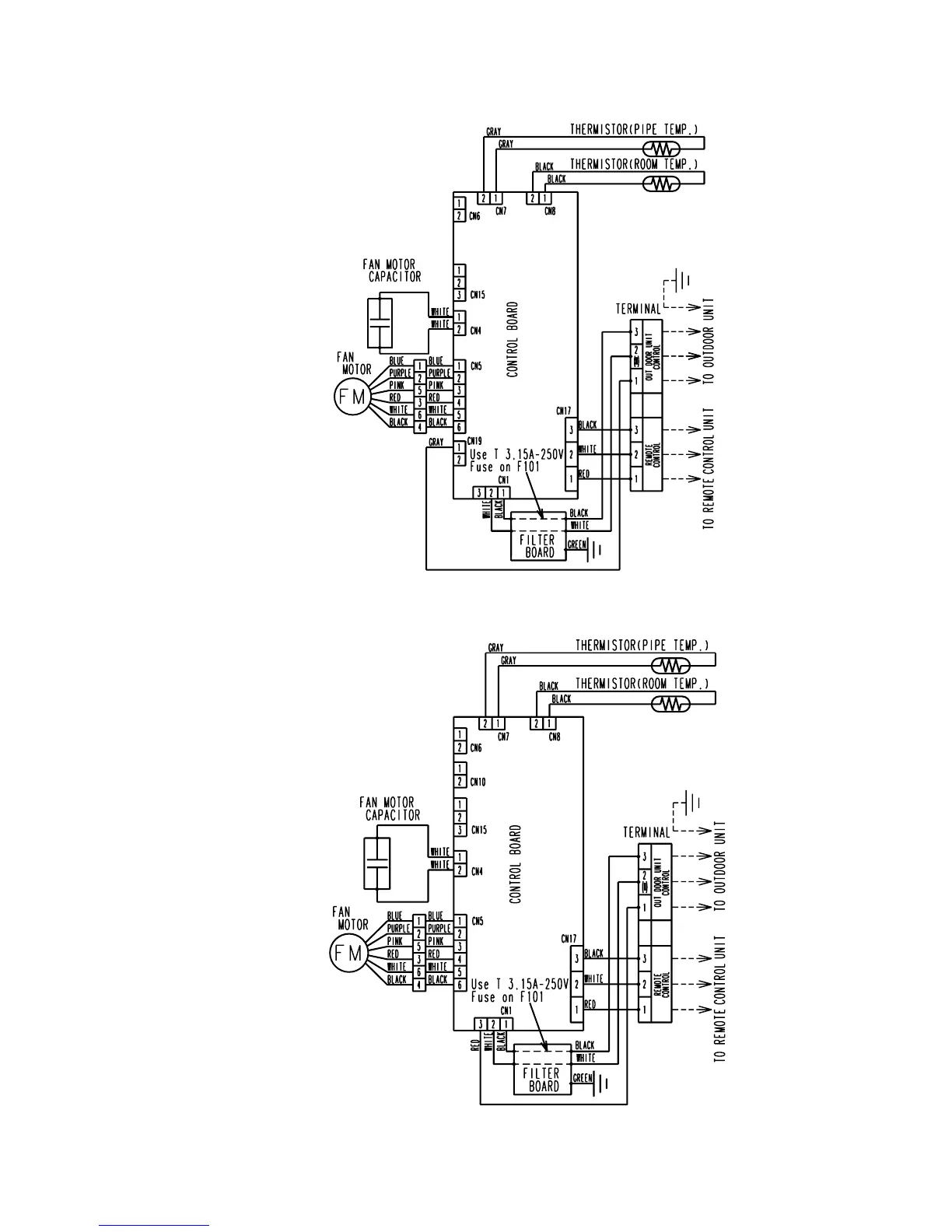
CIRCUIT DIAGRAM
Models : ARG25ALC
ARY25ALC
Models : ARG25RLC
ARY25RLC
52003.05.08

Related product manuals