EasyManua.ls Logo

Fujitsu AOG45TPB3L - Disassembly Illustration

Fujitsu AOG45TPB3L
19 pages
Print Icon
To Next Page IconTo Next Page
To Next Page IconTo Next Page
To Previous Page IconTo Previous Page
To Previous Page IconTo Previous Page
Loading...
- 7 -
2003.08.28
160
764
959
75
64
173
108
146
735
329
69
4
394
74
955
173
324
924
235
196-1
574-2
574-1
184-1
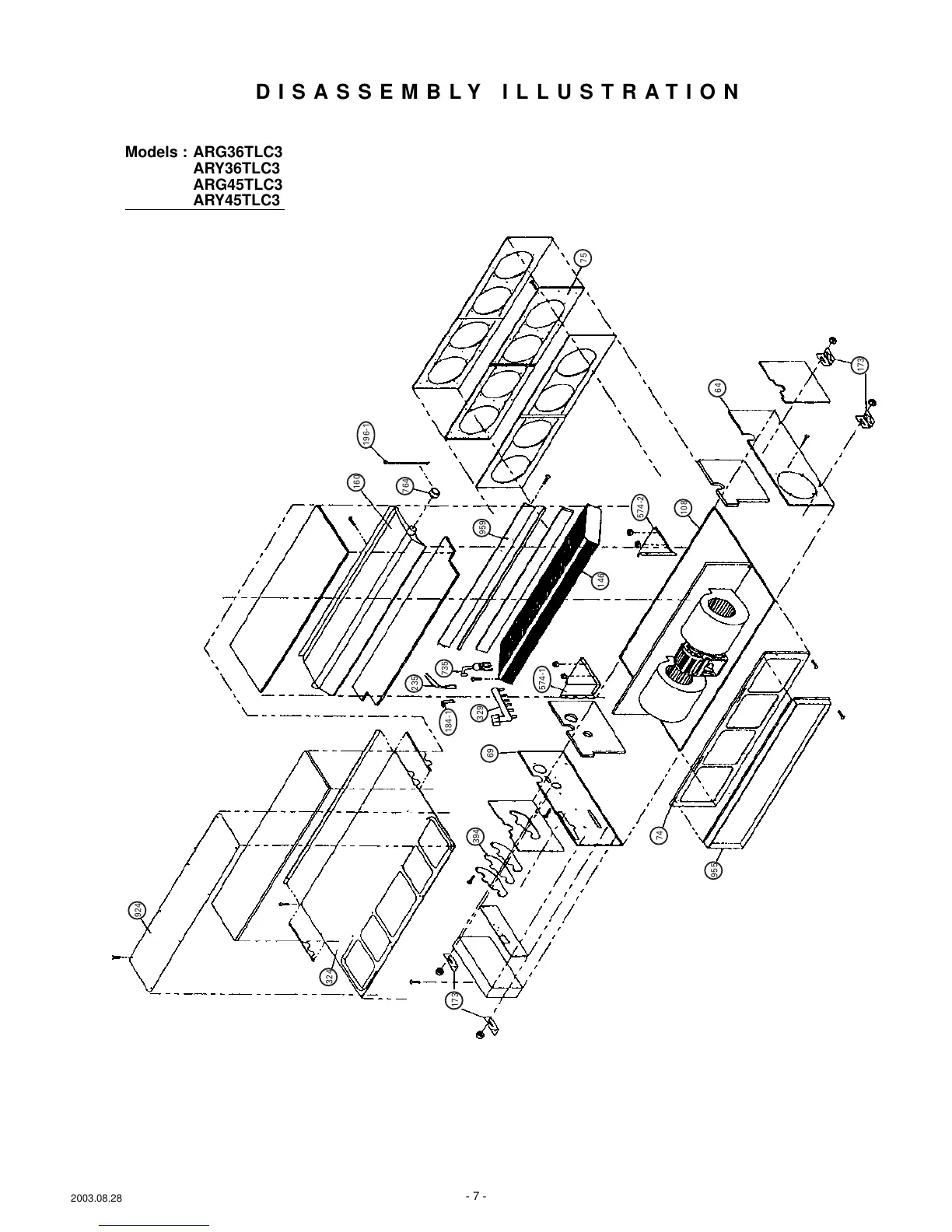
DISASSEMBLY ILLUSTRATION
Models : ARG36TLC3
ARY36TLC3
ARG45TLC3
ARY45TLC3

Related product manuals