EasyManua.ls Logo

Fujitsu AOTG18KMCA - Page 10

Fujitsu AOTG18KMCA
50 pages
Print Icon
To Next Page IconTo Next Page
To Next Page IconTo Next Page
To Previous Page IconTo Previous Page
To Previous Page IconTo Previous Page
Loading...
- (01 - 07) -
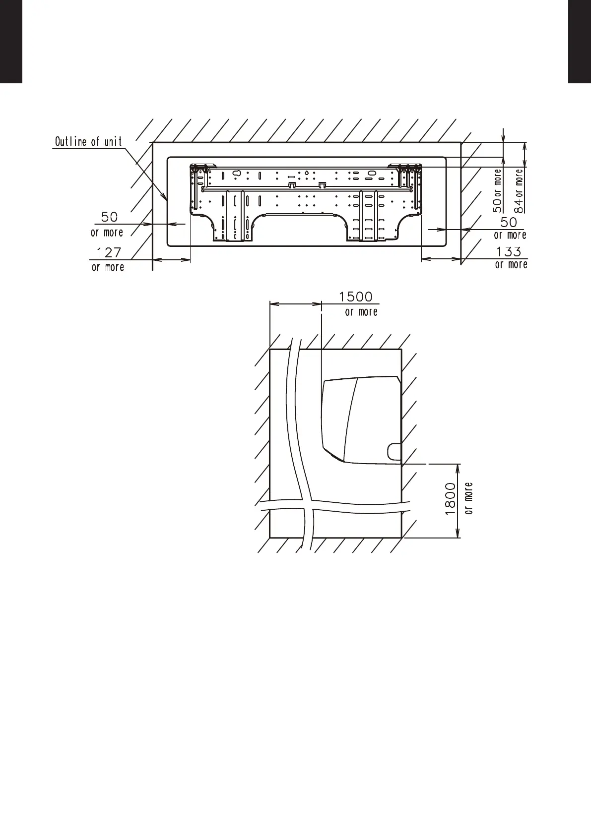
WALL MOUNTED TYPE
ASTG18-24KMCA
WALL MOUNTED TYPE
ASTG18-24KMCA
INSTALLATION PLACE
(Unit: mm)

Related product manuals