EasyManua.ls Logo

Fujitsu ARXG14KLLAP - Page 229

Fujitsu ARXG14KLLAP
567 pages
To Next Page IconTo Next Page
To Next Page IconTo Next Page
To Previous Page IconTo Previous Page
To Previous Page IconTo Previous Page
Loading...
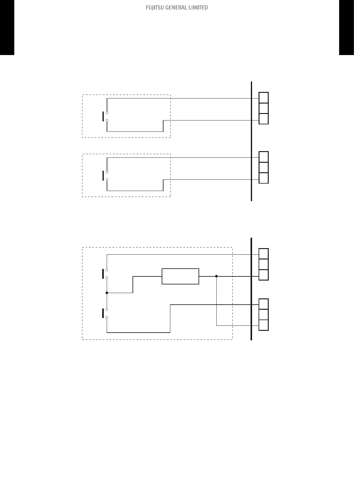
External Input and Output PCB
The indoor unit Operation/Stop can be set by using the input connector on the PCB.
Input select:
Use either one of these types of connectors according to the application. (Both types of connec-
tors cannot be used simultaneously.)
Dry contact
In case of internal power supply, set the slide switch of SW301 to "NON VOL" side.
1
2
3
Input 1
PCB
Connected unit
*
+
-
1
2
3
Input 2
*
+
-
Connector
(CN313)
Connector
(CN314)
*1: The switches can be used on the following condition: DC 12 V to 24 V, 1 mA to 15 mA.
Apply voltage
In case of external power supply, set the slide switch of SW301 to "VOL" side.
1
2
3
Input 1
Power supply
PCB
Connected unit
*
*
*2
+-
1
2
3
Input 2
Connector
(CN313)
Connector
(CN314)
*1: The switches can be used on the following condition: DC 12 V to 24 V, 1 mA to 15 mA.
*2: Make the power supply DC 12 to 24 V, 10 mA or more.
- 221 -
12-5. Wall mounted type (KGTE, KGTF, KMTE, KMCE, KMCF, KETE, KETE-B, KETF, and
KETF-B)
12. External input and output
4-5 UNIT
MULTI-SPLIT TYPE
4-5 UNIT
MULTI-SPLIT TYPE

Table of Contents

Other manuals for Fujitsu ARXG14KLLAP

Related product manuals