EasyManua.ls Logo

Fujitsu AUU9RLF - Page 82

Fujitsu AUU9RLF
105 pages
Print Icon
To Next Page IconTo Next Page
To Next Page IconTo Next Page
To Previous Page IconTo Previous Page
To Previous Page IconTo Previous Page
Loading...
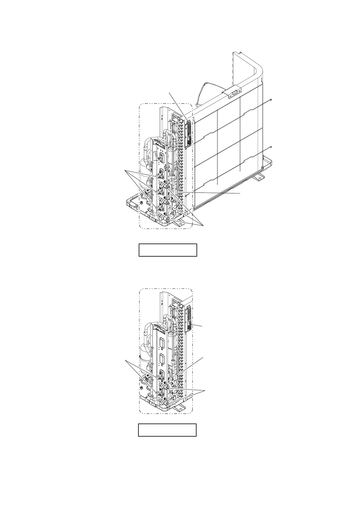
Thermistor
(Heat exchanger temp.)
2-way valve assy
(Liquid)
3-way valve assy
(Gas)
03-02
Thermo Holder&
Thermistor (Outdoor Temp.)
Thermistor
(Heat exchanger temp.)
2-way valve assy
(Liquid)
3-way valve assy
(Gas)
Thermo Holder&
Thermistor (Outdoor Temp.)
AOU24RLXFZ
AOU18RLXFZ

Other manuals for Fujitsu AUU9RLF

Related product manuals