EasyManua.ls Logo

FUNAI LT7-M22BB - Page 16

FUNAI LT7-M22BB
32 pages
Print Icon
To Next Page IconTo Next Page
To Next Page IconTo Next Page
To Previous Page IconTo Previous Page
To Previous Page IconTo Previous Page
Loading...
16
EN
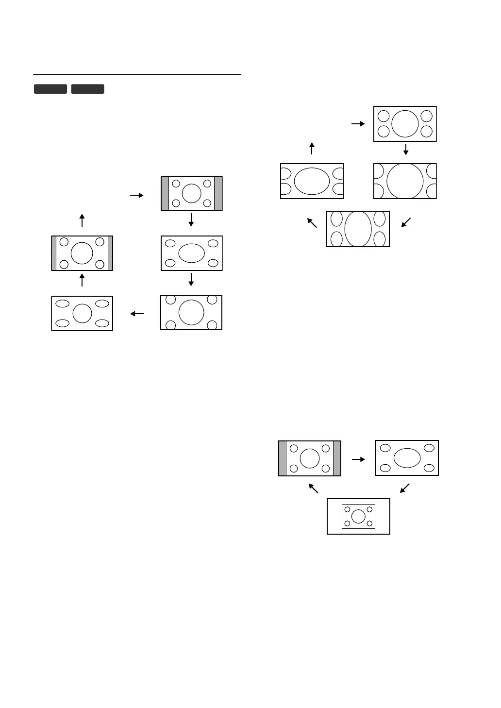
Changing the TV Screen Display Mode
You can select your favourite TV screen size.
Press [ASPECT] repeatedly to switch the TV screen display
mode.
For SD (Standard Definition) video signal
“Auto”
Selects the TV screen display mode automatically.
This is the default.
“Sidebar”
Displays a 4:3 picture at its original size. Sidebars appear on both
edge of the TV screen.
“Full”
Displays a 4:3 picture at a 16:9 size; the picture is stretched
horizontally to fill the TV screen.
“Cinema”
Displays a 4:3 picture at a 16:9 size; the picture is stretched
horizontally and vertically to fill the TV screen. This crops out the
top and bottom of the picture.
“Wide”
Displays a 4:3 picture at a 16:9 size; the centre of the picture is at
its original size and the edges stretched horizontally to fill the TV
screen.
“14:9”
Displays a 4:3 picture at a 14:9 size. Sidebars will be displayed on
both edge of the TV screen.
For HD (High Definition) video signal
“Auto”
Selects the TV screen display mode automatically.
This is the default.
“Full”
Displays a 16:9 picture at its original size.
“Zoom”
Displays a 16:9 picture at its maximum size without changing its
horizontal and vertical ratio.
“Cinema”
Displays a vertically stretched picture.
“Expand”
Displays a horizontally stretched picture.
For PC input signal
“Normal”
Displays a proportionally stretched picture. Mainly sidebars
appear on both edges of the TV screen.
“Full”
Displays a picture that is stretched out of proportion to fill the TV
screen.
“Dot by Dot”
Displays a picture at its original size.
DTV ATV
“Sidebar”
“Full”
“14:9”
“Cinema”
“Wide”
“Auto”
“Full”
“Zoom”
“Expand”
“Cinema”
“Auto”
“Normal” “Full”
“Dot by Dot”

Related product manuals