EasyManua.ls Logo

FUST PRIMOTECQ TA 507 E - Vent Hose Routing and Exhaust; Electrical Connection Requirements; Special Accessories and Environment; Door Reversal Service

FUST PRIMOTECQ TA 507 E
36 pages
Print Icon
To Next Page IconTo Next Page
To Next Page IconTo Next Page
To Previous Page IconTo Previous Page
To Previous Page IconTo Previous Page
Loading...
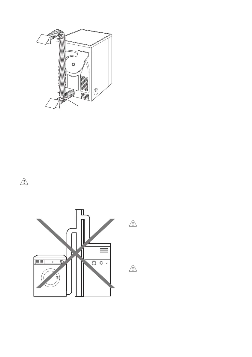
Once connected to the dryer, run the vent
hose to the desired outlet point, ensuring that
the run’s overall length is less than 2 m, and
that it contains no more than two bends. As
to the outlet itself, if you have decided on a
fixed wall/window grille, a good local build-
er’s merchant should be able to supply you
with the necessary fittings and installation
advice.
Warning! It is important not to connect
the vent hose to, for example, a cooker
hood, or a chimney or flue pipe designed
to carry the exhaust from a fuel burning
appliance.
Note that to avoid condensation problems, it
is essential that the dryer be fitted with the
flexible hose to carry its “exhaust” at least
beyond the kitchen units; preferable outside
the kitchen. In order to prevent the appliance
from overheating, it is important that the
B
steam exhaust is unobstructed. Therefore, in
case of a permanent hose fitted to an exterior
wall or ceiling, it must be ensured an exhaust
capacity of at least 150 m3/h. If the dryer is
fitted next to kitchen units, make sure that the
vent hose is not squashed. If the hose is par-
tially squashed, drying efficiency will be re-
duced, resulting in longer drying times and
higher energy consumption. If the hose is
completely squashed, the safety cut-outs
with which the machine is fitted may operate.
When operating the tumble dryer, the room
temperature must not be lower than +5°C
and higher than +35°C, as it may affect the
performance of the appliance.
Door reversal
To make it easier to load or unload the laun-
dry, the door can be reversed. The door must
only be reversed by an authorised service
engineer. Please contact your local Service
Force Centre. The engineer will carry out the
door reversal at your cost.
Electrical connection
Details on mains voltage, type of current and
the fuses required should be taken from the
type plate. The type plate is fitted near the
loading aperture (see “Product description”
chapter).
Connect the machine to an earthed
socket, in accordance with current wir-
ing regulations.
Warning! The manufacturer declines
any responsibility for damage or
injury through failure to comply with
the above safety precautions.
Should the appliance power supply
cable need to be replaced, this must
be carried out by our Service Center.
Warning! The plug must be
accessible after installing the
machine.
Special accessories
Stacking kit
13

Related product manuals