EasyManua.ls Logo

GARZA 400607 - Page 18

GARZA 400607
40 pages
Print Icon
To Next Page IconTo Next Page
To Next Page IconTo Next Page
To Previous Page IconTo Previous Page
To Previous Page IconTo Previous Page
Loading...
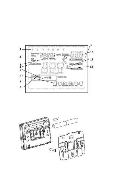
,QVWUXomRGRGLVSOD\
GLDGDVHPDQDDKRUDRDMXVWHVDODRIIRII21
VROJXLDGHSURJUDPDVFDOGHLUD21DWHPSHUDWXUDp
H[LELGDPRGRGHRSHUDomRDWHPSHUDWXUDHVFROKLGD
FKDYHGHEORTXHLRDWHPSHUDWXUDGRTXDUWR
,167$/$d®2'27(50Ð67$72
,QVWDOHDEDWHUtD
,QVWDOHDFREHUWDGHSURWHomR
,QVWDODomRHPSDUHGH
FUNCIONAMIENTO
0HQXGHFRQILJXUDomRSURJUDPiYHO
&HUWLILTXHVHGHTXHRWHUPyVWDWRHVWHMD2))3UHVVLRQHHVHJXUH
RERWmR3SRUVHJXQGRVSDUDDFHVVmRRPHQXGHFRQILJXUDomRD
WHODPRVWUDUiRSULPHLURLWHPGRPHQXGHFRQILJXUDomR&/
3UHVVLRQHRERWmR3SDUDDYDQoDUSDUDRSUy[LPRLWHPGHPHQX
XVHHFRORTXHDVVHWDVSDUDFLPDHSDUDEDL[RSDUDPRGLILFi
OR3URFHGDDVVLPVXFHVVLYDPHQWHSDUDDOWHUDUWRGRVRV
SDUkPHWURV3DUDVDLUGRPHQXSUHVVLRQHRERWmR5HUHWRUQDUij
WHOD2))6HQHQKXPERWmRIRUSUHVVLRQDGRGHQWURGH
VHJXQGRVRWHUPyVWDWRVDLUiDXWRPDWLFDPHQWHGRPHQXHRTXH
HVWLYHUGHILQLGRQHVVHPRPHQWRVHUiVDOYR
3DUD UHVWDXUDU DV FRQILJXUDo}HV SDGUmR GH IiEULFD SUHVVLRQH R
ERWmR 5 SRU  VHJXQGRV 2 GLVSOD\ PRVWUDUi '() SLVFDQGR 
YH]HVHDLQGLFDomR2))UHWRUQDUi



Related product manuals