EasyManua.ls Logo

GARZA 400607 - Instalación del Termostato

GARZA 400607
40 pages
Print Icon
To Next Page IconTo Next Page
To Next Page IconTo Next Page
To Previous Page IconTo Previous Page
To Previous Page IconTo Previous Page
Loading...
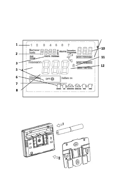
Instrucción de pantalla:
 'tD GH OD VHPDQD  OD KRUD  HO DMXVWH  KDELWDFLyQ 
DSDJDGRRII² HQFHQGLGR VRO JXtDGHOSURJUDPD FDOGHUD
RQVHPXHVWUDODWHPSHUDWXUDPRGRGHIXQFLRQDPLHQWR
ODWHPSHUDWXUDHVFRJLGDWHFODGHEORTXHRODWHPSHUDWXUD
GHODKDELWDFLyQ
INSTALACIÓN DEL TERMOSTATO
Instale la batería
Instale la cubierta de protección
Instalación en pared
FUNCIONAMIENTO
0HQ~GHFRQILJXUDFLyQSURJUDPDEOH
$VHJ~UHVHGHTXHHOWHUPRVWDWRHVWpDSDJDGR´2))µ0DQWHQJD
SXOVDGRHOERWyQ3GXUDQWHVHJXQGRVSDUDDFFHGHUDOPHQ~GH
FRQILJXUDFLyQODSDQWDOODPRVWUDUiHOSULPHUHOHPHQWRGHOPHQ~GH
FRQILJXUDFLyQ´&/µ3XOVHHOERWyQ3SDUDDYDQ]DUDOVLJXLHQWH
HOHPHQWRGHOPHQ~XVH\SRQHUIOHFKDVDUULED\DEDMRSDUD
PRGLILFDUOR3URFHGDDVtVXFHVLYDPHQWHSDUDLUFDPELDQGRWRGRVORV
SDUiPHWURV3DUDVDOLUGHOPHQ~SXOVHHOERWyQ5\YROYHUiDOD
SDQWDOOD2))6LQRVHSXOVDQLQJ~QERWyQHQXQSOD]RGH
VHJXQGRVHOWHUPRVWDWRVDOGUiDXWRPiWLFDPHQWHGHOPHQ~\VH
TXHGDUiJXDUGDGRORTXHHVWpSXHVWRHQHVHPRPHQWR
3DUDUHVWDEOHFHUORVYDORUHVSUHGHWHUPLQDGRVGHIiEULFDGHQWURGHO
PHQ~GHFRQILJXUDFLyQSXOVHGXUDQWHVHJXQGRVHOERWyQ5(QOD
SDQWDOODVHPRVWUDUiHOPHQVDMH´'()µSDUSDGHDQGRYHFHV\VH
YROYHUiDODSDQWDOOD2))
6

Related product manuals