EasyManua.ls Logo

Gast DOA Shown - MAA;MOA Series Exploded View

Gast DOA Shown
8 pages
Print Icon
To Next Page IconTo Next Page
To Next Page IconTo Next Page
To Previous Page IconTo Previous Page
To Previous Page IconTo Previous Page
Loading...
6
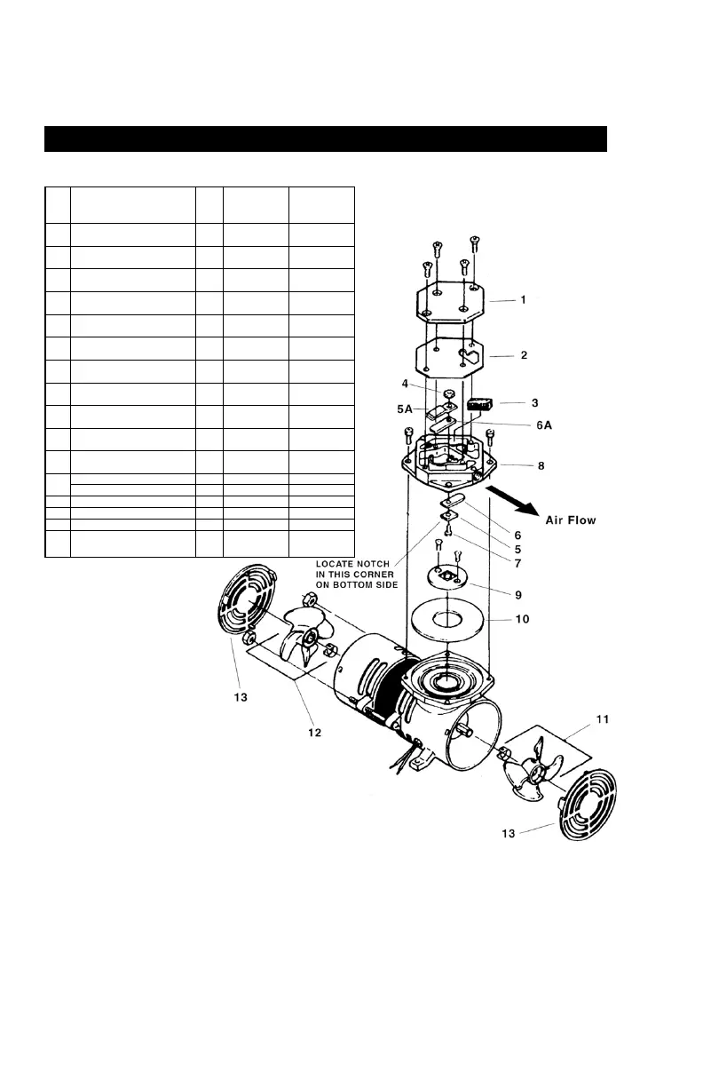
EXPLODED PRODUCT VIEW, PARTS & ORDERING INFORMATION
REF DESCRIPTION QTY MAA-V103-HB* MOA-P101- AA
MOA-P101-CD
MOA-P101- JH**
1 COVER 1 AF780
2 AF780
2 HEAD GASKET 1 AF783
2 AF783
3 FILTER/MUFFLER ELEMENT 2 AT712
4 AT712
4 NUT 1 BC164
2 BC164
5 VALVE RETAINER 1 AF819A
2 AF819A
5A LIMITER 1 AH406
2 AH406
6 LEAF VALVE 1 AJ827
2 AJ827
6A EXHAUST LEAF VALVE 1 AG973
2 AG973
7 SCREW 1 BB319
2 BB319
8 HEAD 1 AF779
2 AF779
9 RETAINER PLATE 1 AF778
2 AF778
10 DIAPHRAGM-Pressure-Red 1 AG288
**** DIAPHRAGM-Vacuum-Red 2 AG288
11 FAN 1 AJ856 AJ856
12 **FAN 1 AF785B AF785B
13 **GRILLE 2 AG774 AG774
*** SERVICE KIT 1 K309
2 K309
MAA / MOA SERIES
* MOA shown. The Double-ended (MAA not illustrated) models are two MOAs mounted back to back with heads rotated.
**MOA-P101-JH does not have an AF785B fan and has only qty (1) AG774 Grille (#13).
*** Item not shown.
****Pattern side up for compressors. Pattern side down for vacuum pumps.
Denotes parts included in the Service Kit.
The service kit may contain parts for more than one model or style diaphragm pump. Parts not needed may be discarded.
Parts listed are for stock models. For specific OEM models, please consult the factory.
When corresponding or ordering parts, please give complete model and serial numbers.

Related product manuals