EasyManua.ls Logo

Gates CRITERION Series - Page 45

Default Icon
57 pages
Print Icon
To Next Page IconTo Next Page
To Next Page IconTo Next Page
To Previous Page IconTo Previous Page
To Previous Page IconTo Previous Page
Loading...
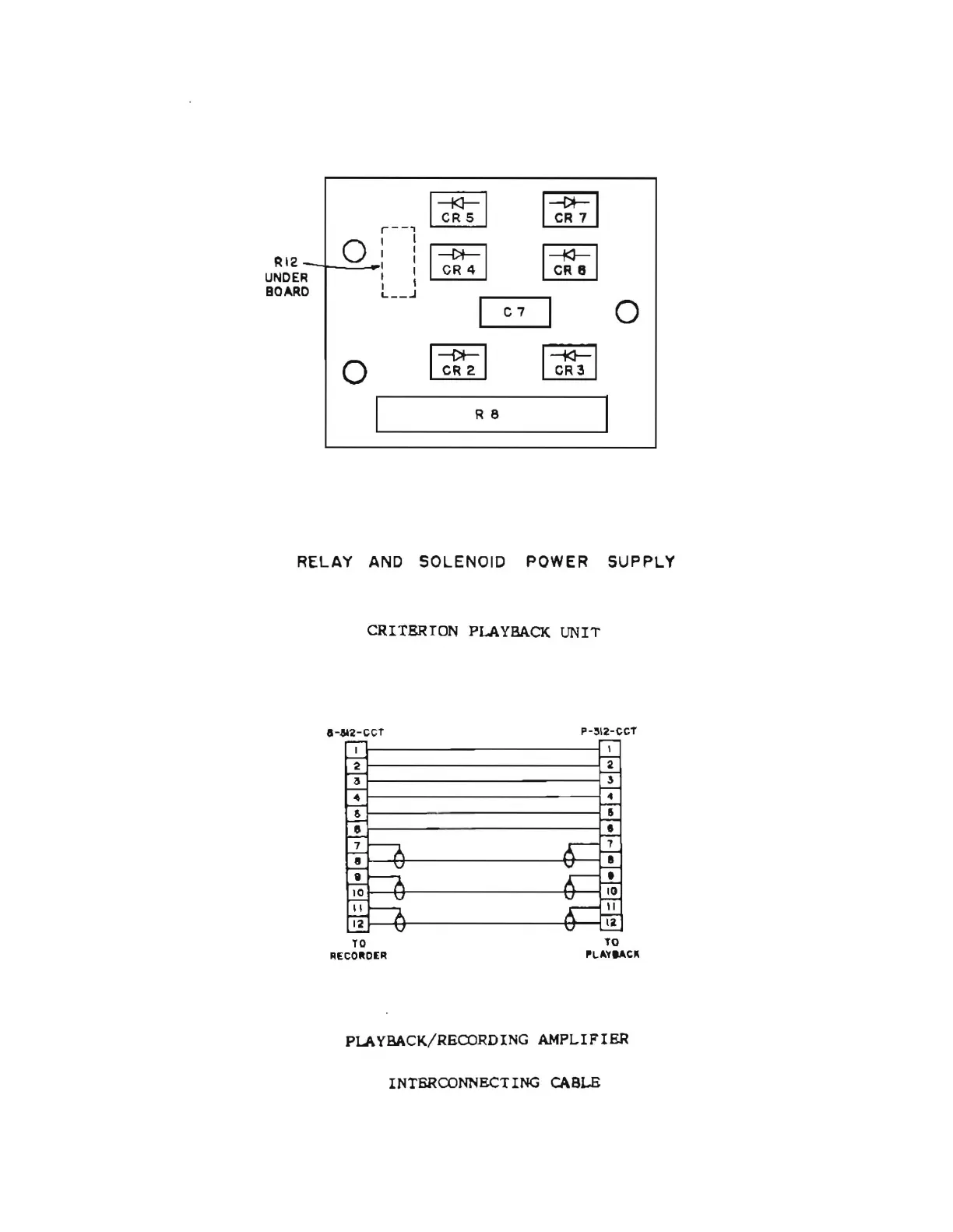
RELAY
AND
SOLENOID
POWER
SUPPLY
CRITERION
PLAYBACK
UNIT
a-~2-CCT
P-!l12-CCT
~ ~
7
!1
('")
11
a
iOI
(")
n
II
ii1
(")
n
TO
RECORDER
TO
nAY
....
C;'"
PLAYBACK/RECORDING
AMP~IFIER
INTERCONNECTING
CABLE